EasyManua.ls Logo

ABB HT573765 - Turbocharger Rating Plate

ABB HT573765
138 pages
Print Icon
To Next Page IconTo Next Page
To Next Page IconTo Next Page
To Previous Page IconTo Previous Page
To Previous Page IconTo Previous Page
Loading...
Operation Manual / TPL67-C.. - TPL71-C..
Preliminary remarks
1
Turbocharger rating plate
1.7
Page 15
© Copyright 2017 ABB. All rights reserved.
February 2017 HZTL2488_EN Revision D
Turbocharger rating plate
1.7
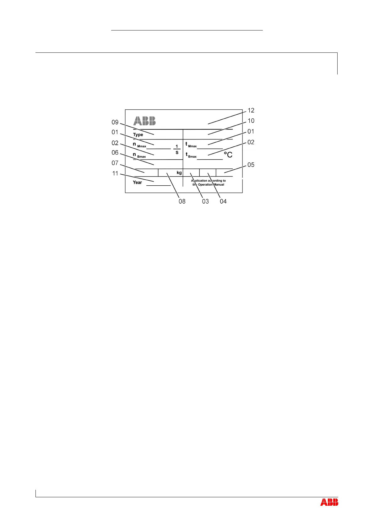
01
Turbocharger operating limits at engine overload (110 %).
Only when operating in the test rig unless otherwise agreed with the en-
ginebuilder.
02
Turbocharger operating limits during operation
03
Replacement interval for plain bearings in 1000 h
04
Replacement interval for compressor in 1000 h
05
Replacement interval for turbine in 1000 h
06
Customer part number
07
Designation of the special design
08
Turbocharger weight in kg
09
Turbocharger type
10
Serial number
11
Year of construction of turbocharger
12
Manufacturing plant
1.7
Operating limits
Recommended replace-
ment intervals for turbo-
charger components
Further information

Table of Contents

Related product manuals