EasyManua.ls Logo

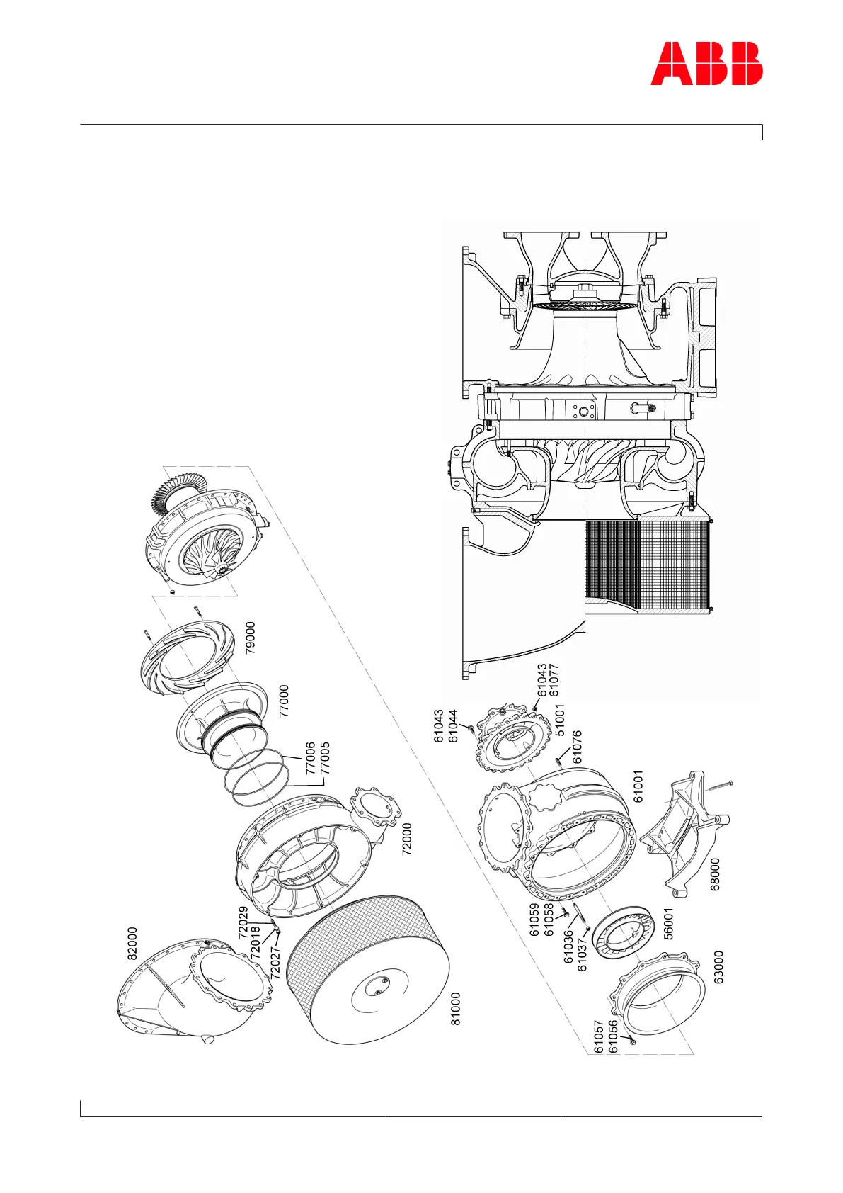
ABB HT846804 - View of the Turbocharger with Part Numbers

ABB HT846804
120 pages
Print Icon
To Next Page IconTo Next Page
To Next Page IconTo Next Page
To Previous Page IconTo Previous Page
To Previous Page IconTo Previous Page
Loading...
Operation Manual / TPL65-A10 / -A30
12 Spare parts / 12.2 View of the turbocharger with part numbers
© Copyright 2020 . All rights reserved. HZTL2482_EN Rev.E March 2020
12.2 View of the turbocharger with part numbers
Page 115 / 117

Table of Contents

Related product manuals