EasyManua.ls Logo

Acdeos AXS –FL - Page 5

Default Icon
16 pages
Print Icon
To Next Page IconTo Next Page
To Next Page IconTo Next Page
To Previous Page IconTo Previous Page
To Previous Page IconTo Previous Page
Loading...
5
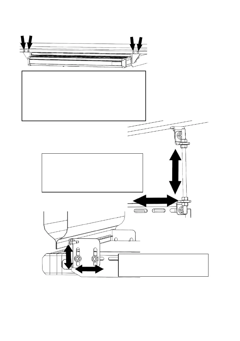
You can adjust the height of the step
under the vehicle by adjusting the front
brackets in the slot holes.
Always try to go as vertically as possible
straight up from the fixing point on the rear
of the step to the fixing points on the
vehicles floor.
The M8 studs should be placed as vertical
as possible
Take the flexible mounting brackets supplied with the
step. These brackets can be mounted in several
ways. The brackets should be used to fix the rear
side of the step to the bottom of the vehicle. It is
recommended to find a strong point at the vehicle
floor. Mount the brackets in such a way that they
bridge the gap between step and vehicle floor /
chassis.