EasyManua.ls Logo

Acer 7720 - Closed Front View

Acer 7720
119 pages
Print Icon
To Next Page IconTo Next Page
To Next Page IconTo Next Page
To Previous Page IconTo Previous Page
To Previous Page IconTo Previous Page
Loading...
17
English
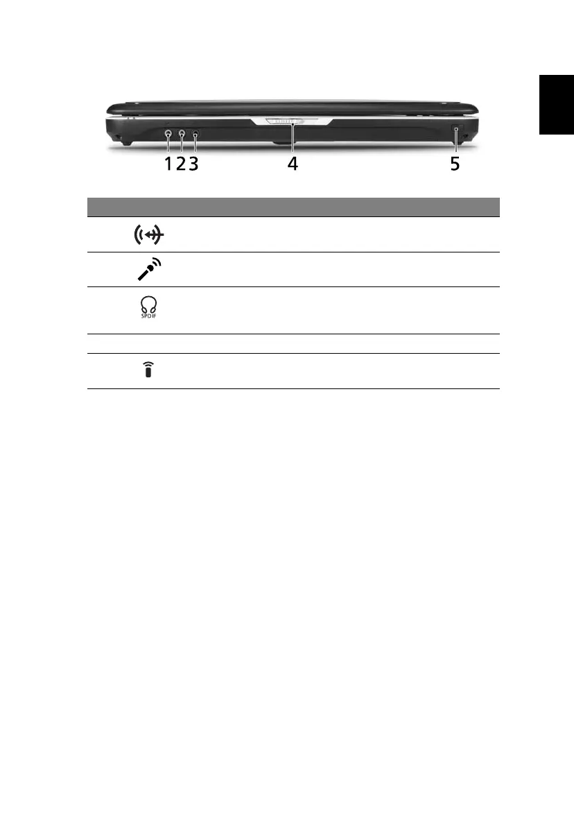
Closed front view
# Icon Item Description
1 Line-in jack Accepts audio line-in devices (e.g.,
audio CD player, stereo walkman).
2 Microphone-in jack Accepts input from external
microphones.
3 Headphones/speaker/
line-out jack with
S/PDIF support
Connects to audio line-out devices
(e.g., speakers, headphones).
4 Latch Locks and releases the lid.
5 CIR receiver Receives signals from a remote control.
12 3

Table of Contents

Related product manuals