EasyManua.ls Logo

Acorto 2000s - Page 61

Acorto 2000s
237 pages
Print Icon
To Next Page IconTo Next Page
To Next Page IconTo Next Page
To Previous Page IconTo Previous Page
To Previous Page IconTo Previous Page
Loading...
ffill
f _r
-
_'!! I
^
j''"1
1i
lL.,i
ul
l
!
2030-005A
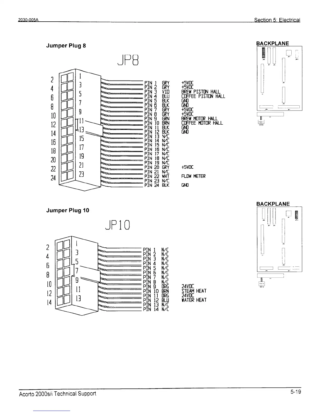
Jumper Plug
8
JPB
+5VDt
+5V0t
BREI{
PTSTDN HALL
COFFEE P]STI]N
HALL
6N0
cN0
+5V0C
FLOI{
METER
GNO
Jumper
Plug 10
JP 1O
24V0C
STEAM
HEAT
24VDC
TATER HEAT
+5VDC
+5V0t
BREI{ MOTOR HALL
TOFFEE
ilNTOR HALL
GNt)
GNt)
6RY
6RY
VM
BLU
BLK
BLK
6RY
6RY
GRN
BRN
BLK
BLK
Ntf
1'l{
1.1,{
ft/f
l.l[
l.l{
tvt
6RY
1,t{
I/HT
tl{
BLK
PIN I
FIN 2
PIN 3
FIN 4
PiN 5
PIN 6
PIN 7
PIN 8
PlN 9
PIN IO
PIN II
PIN 12
PIN I]
PIN 14
PIN
15
PIN 16
PIN 17
P]N 18
PIN IS
PIN 20
P]N
2I
PIN 22
PlN 2]
PIN 24
2
4
ff
u
B
l0
l
,.1
ta
14
l0
IB
20
tl
24
N/t
N/t
N/t
N/t
N/C
N/t
N/t
N/t
I]RG
BRN
ORG
BLU
N/t
N/t
PIN I
PIN 2
PIN ]
PiN
4
PIN 5
PIN 6
PIN
7
PIN B
PIN
g
PIN IO
PIN
II
PIN 12
PIN 13
PIN 14
2
4
6
B
10
t2
l4
1
1
L
I
1
J
5
I
I
1t
ta
IJ
l5
t]
tg
?l
23
BACKPLANE
_r,-l
ffi
l-'"
ir-.,
ul
I
il
il
il
I
l
5
I
g
I
I
5-1 I
Acorto
2000s/i
Technical
Support