EasyManua.ls Logo

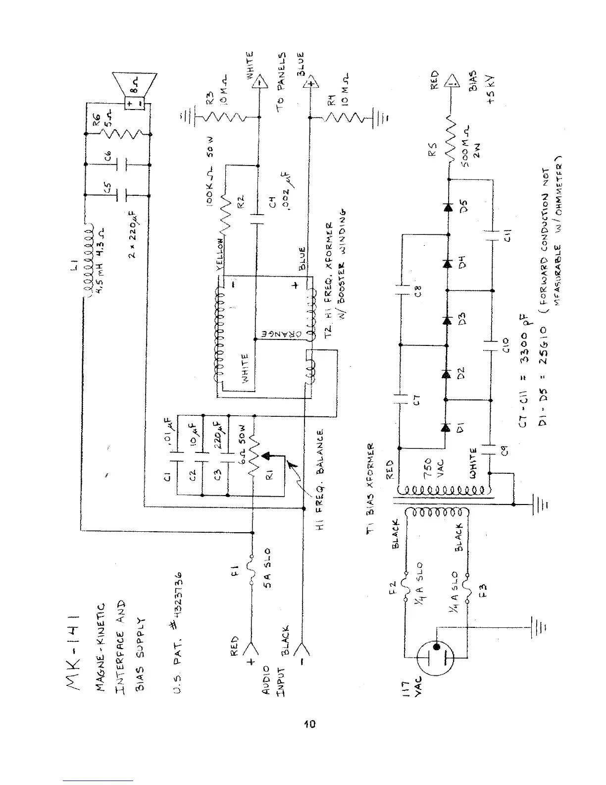
Acoustat THREE - MK-141 Technical Data; MK-141 Schematic Diagram

Default Icon
14 pages
Print Icon
To Next Page IconTo Next Page
To Next Page IconTo Next Page
To Previous Page IconTo Previous Page
To Previous Page IconTo Previous Page
Loading...

Related product manuals