EasyManua.ls Logo

ACR Electronics RCL-75 - Page 5

ACR Electronics RCL-75
20 pages
Print Icon
To Next Page IconTo Next Page
To Next Page IconTo Next Page
To Previous Page IconTo Previous Page
To Previous Page IconTo Previous Page
Loading...
Y1-03-0158H 4
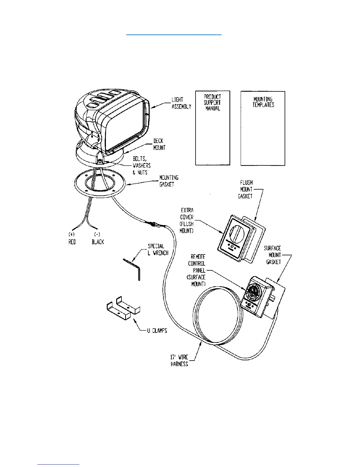
If any of the above is missing, please contact ACR Electronics Technical
Service by email at service@acrelectronics,com or by phone at +1 (954)
981-3333. Please be ready to provide the serial number of your unit and
location of purchase.
Figure 1

Related product manuals