EasyManua.ls Logo

Action S002217-2 - Assembly Steps Continuation; Step 3: Base and Pole Assembly

Action S002217-2
13 pages
Print Icon
To Next Page IconTo Next Page
To Next Page IconTo Next Page
To Previous Page IconTo Previous Page
To Previous Page IconTo Previous Page
Loading...
7
S002217-2 Basketball System
Assembly Instructions (cont)
Step 3
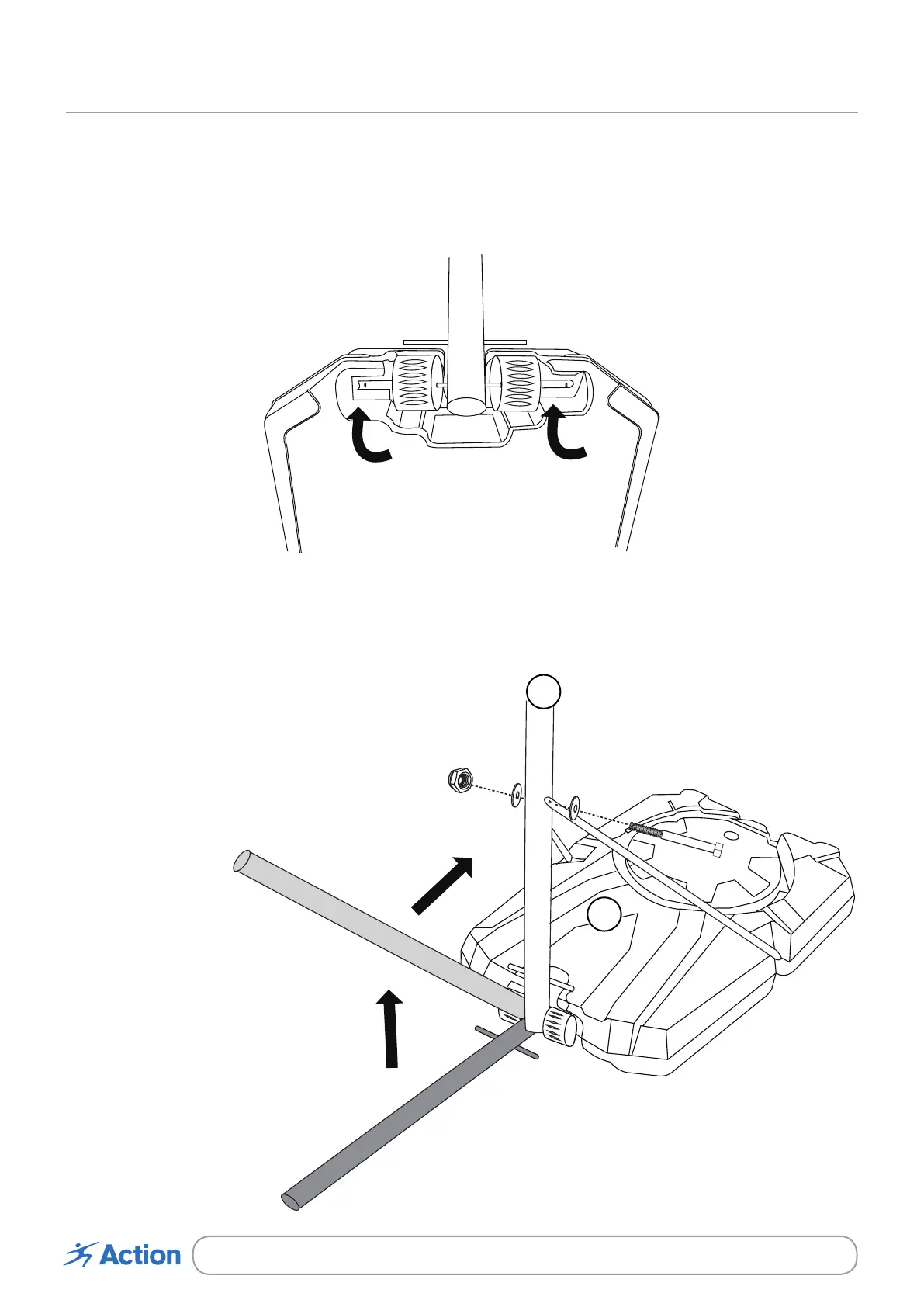
Attach Bottom Pole 4 to the Base 3 of the stand by slotting Axle 8 with wheels attached into the moulded
area provided underneath the base. See image below.
Using Bolt K, Washer D and Nut A,
fix the Support Arms 7 to the Botom
Pole 4 in the holes provided.
Guide the Bottom Pole 4 upwards so that
it is in the upright position. Ensure that the
Axle 9 slots into the grooves at the top of
the Base 3. See below image.
A
D
D
K
3
4

Related product manuals