EasyManua.ls Logo

Acustica TIGER - Page 8

Acustica TIGER
30 pages
Print Icon
To Next Page IconTo Next Page
To Next Page IconTo Next Page
To Previous Page IconTo Previous Page
To Previous Page IconTo Previous Page
Loading...
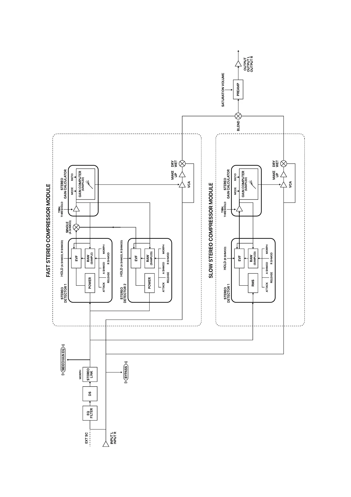
Tiger signal chain:

Related product manuals