EasyManua.ls Logo

ADCA RP45 - Page 6

Default Icon
7 pages
Print Icon
To Next Page IconTo Next Page
To Next Page IconTo Next Page
To Previous Page IconTo Previous Page
To Previous Page IconTo Previous Page
Loading...
ADCA
VALSTEAM
ADCA
We reserve the right to change the design and material of this product without notice.
IMI RP45.02 E 07.16
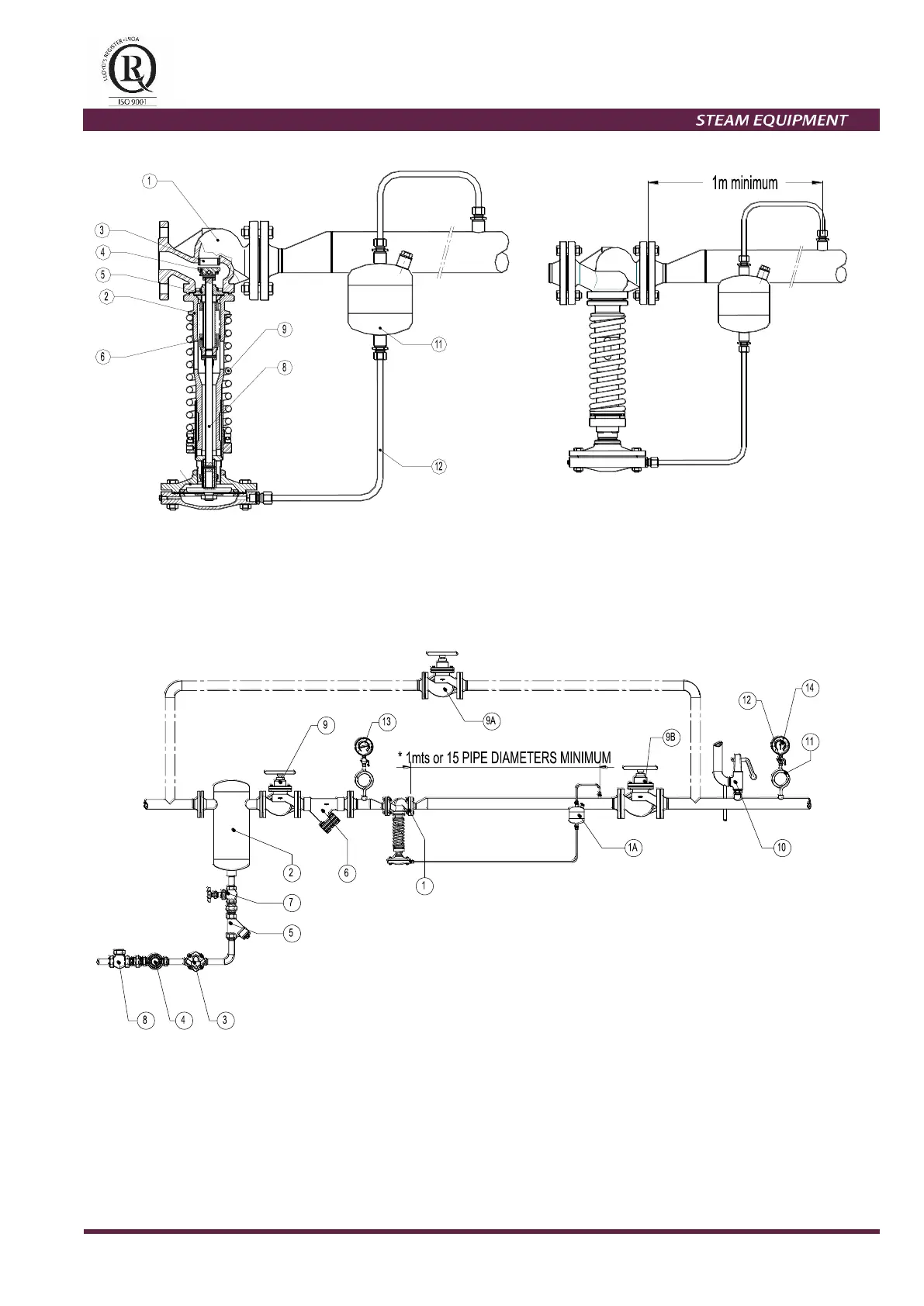
TYPICAL INSTALLATION