EasyManua.ls Logo

AEG 52600ZD - Bandeau de Commande

AEG 52600ZD
Print Icon
To Next Page IconTo Next Page
To Next Page IconTo Next Page
To Previous Page IconTo Previous Page
To Previous Page IconTo Previous Page
Loading...
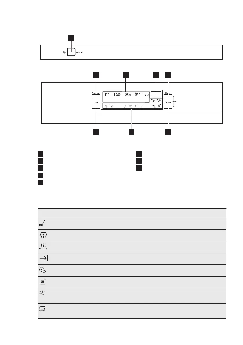
4. BANDEAU DE COMMANDE
1
2 4 5
68
3
7
1
Touche Marche/Arrêt
2
Touche Program
3
Voyants de programme
4
Affichage
5
Touche Delay
6
Touche Option
7
Voyants
8
Touche Start
4.1 Voyants
Indicateur Description
Phase de lavage. Il s'allume au cours de la phase de lavage.
Phase de rinçage. Il s'allume au cours de la phase de rinçage.
Phase de séchage. Il s'allume au cours de la phase de séchage.
Voyant de fin.
Voyant TimeSaver.
Voyant XtraDry.
Voyant du réservoir de liquide de rinçage. Ce voyant est toujours éteint
pendant le déroulement du programme.
Voyant du réservoir de sel régénérant. Ce voyant est toujours éteint pen-
dant le déroulement du programme.
FRANÇAIS 49

Related product manuals