EasyManua.ls Logo

AEG 60800 - Understanding the Control Panel

AEG 60800
44 pages
Print Icon
To Next Page IconTo Next Page
To Next Page IconTo Next Page
To Previous Page IconTo Previous Page
To Previous Page IconTo Previous Page
Loading...
Operating Instructions
10
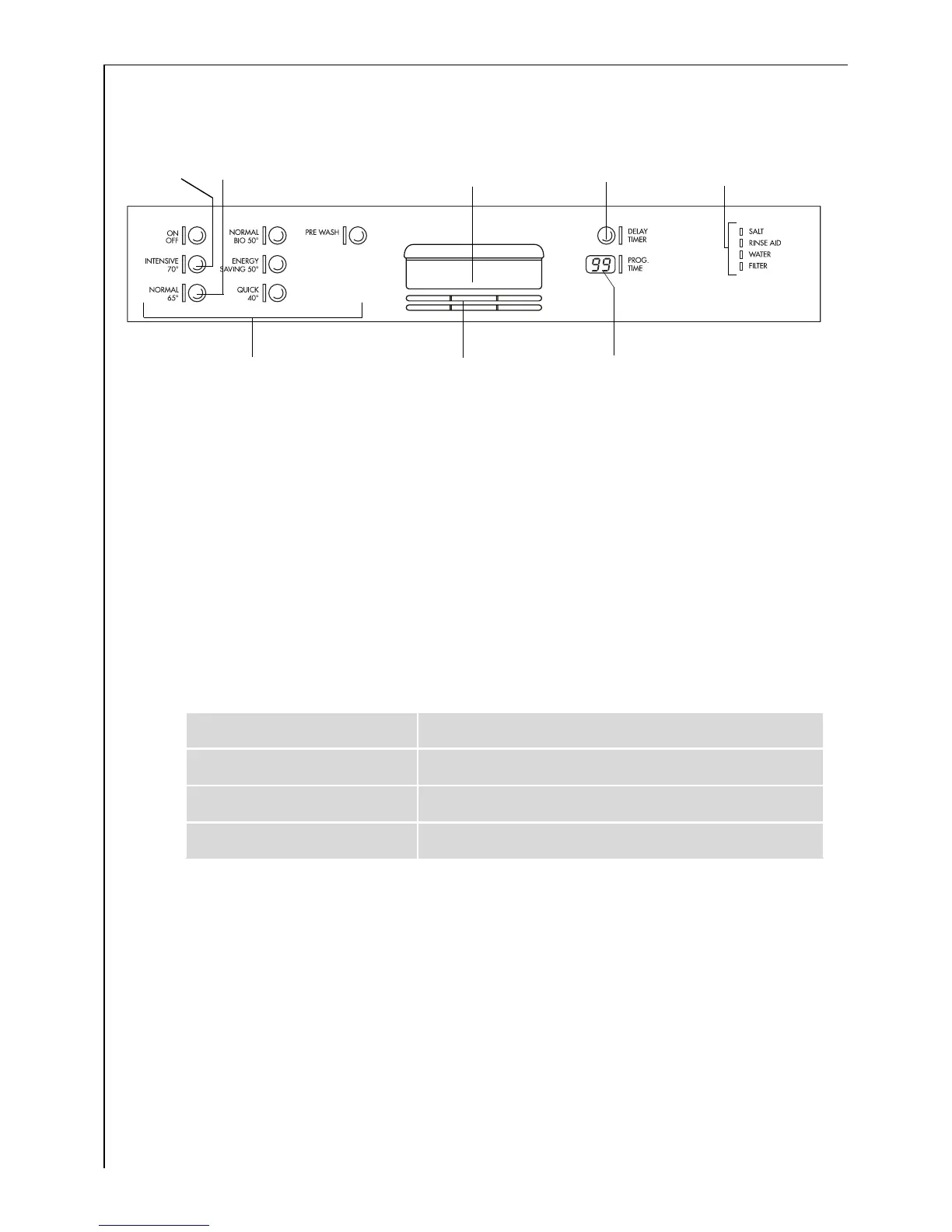
Control Panel
The Control Panel comprises the ON/OFF switch and the programme
buttons with LED indicators.
Softener and Function Button: in addition to the wash programme
marked, it is also possible to adjust the dishwasher's water softener
using the combination of these buttons.
The Multi-Display can display,
the hardness setting to which the water softener is set.
the start delay that is set.
how long the current wash programme can be expected to last.
which fault has occurred on the dishwasher.
The indicators have the following significance:
3
The FILTER indicator is intended to remind you to check the filters in
the dishwasher from time to time and, if necessary, to clean it. The
indicator illuminates at regular intervals, independent of the amount of
soiling of the filters.
SALT Refill with special salt
RINSE AID Refill with rinse aid
WATER Open tap
FILTER Clean the dishwasher's filter system
Multidisplay
Control Panel
Indicators
Set
Start Delay
Air Outlet for Fan
Assisted Drying
Door
Handle
Softener
Button
Function
Button

Related product manuals