EasyManua.ls Logo

AEG 914550446 - Troubleshooting

AEG 914550446
44 pages
Print Icon
To Next Page IconTo Next Page
To Next Page IconTo Next Page
To Previous Page IconTo Previous Page
To Previous Page IconTo Previous Page
Loading...
1. Put 2 litres of water in the main wash
compartment of the detergent
dispenser.
2. Start the programme to drain the
water.
13.10 Frost precautions
If the appliance is installed in an area
where the temperature can reach the
values around 0° C or drop below,
remove the remaining water from the
inlet hose and the drain pump.
1. Disconnect the mains plug from the
mains socket.
2. Close the water tap.
3. Put the two ends of the inlet hose in
a container and let the water flow out
of the hose.
4. Empty the drain pump. Refer to the
emergency drain procedure.
5. When the drain pump is empty,
install the inlet hose again.
WARNING!
Make sure that the
temperature is higher than 0
°C before you use the
appliance again.
The manufacturer is not
responsible for damages
caused by low temperatures.
14. TROUBLESHOOTING
WARNING!
Refer to Safety chapters.
14.1 Introduction
The appliance does not start or it stops
during operation.
First try to find a solution to the problem
(refer to the table). If the problem
persists, contact the Authorised Service
Centre.
In case of major problems, the acoustic
signals operate, the display shows an
alarm code and the Start/Pause button
may flash continuously:
- The appliance does not fill with
water properly.
Start the appliance again by pressing
Start/Pause button. After 5 seconds
the door will be unlocked.
- The appliance does not drain
the water.
- The appliance door is open or
not closed correctly. Please check the
door!
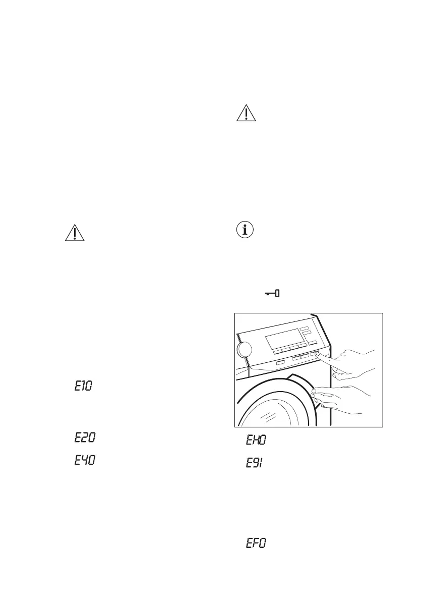
If the appliance is
overloaded, remove
some items from the
drum and/or keep
pressed the door while
touching the Start/Pause
button until the indicator
stops flashing (see
the picture below).
- The mains supply is unstable.
Wait until the mains supply is stable.
- No communication between
electronic elements of the appliance.
Switch it off and switch on again.
The programme was not finished
properly or the appliance stopped
too early. If the alarm code appears
again, contact the Authorised Service
Centre.
- The anti-flood device is on.
Disconnect the appliance and close
www.aeg.com
34