EasyManua.ls Logo

AEG AWUS020B5B - Page 7

AEG AWUS020B5B
16 pages
Print Icon
To Next Page IconTo Next Page
To Next Page IconTo Next Page
To Previous Page IconTo Previous Page
To Previous Page IconTo Previous Page
Loading...
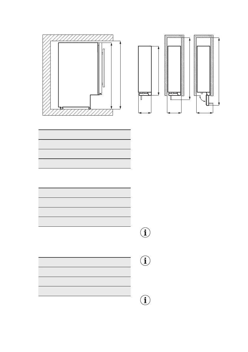
3.1 Dimensions
H1
H2
W1
D1
W2
D2
W3
90°
D3
Overall dimensions ¹
H1 mm 820
W1 mm 295
D1 mm 571
¹ the height, width and depth of the
appliance without the handle
Space required in use ²
H2 mm 822
W2 mm 300
D2 mm 648
² the height, width and depth of the
appliance including the handle, plus the
space necessary for free circulation of
the cooling air
Overall space required in use ³
H2 mm 822
W3 mm 348
D3 mm 855
³ the height, width and depth of the
appliance including the handle, plus the
space necessary for free circulation of
the cooling air, plus the space necessary
to allow door opening to the minimum
angle permitting removal of all internal
equipment
3.2 Location
To ensure appliance's best functionality,
you should not install the appliance in the
nearby of the heat source (oven, stoves,
radiators, cookers or hobs) or in a place
with direct sunlight. Make sure that air
can circulate freely around the back of
the cabinet.
This appliance should be installed in a
dry, well ventilated indoor position.
This appliance is intended to be used at
ambient temperature ranging from 16°C
to 38°C.
The correct operation of the
appliance can only be
guaranteed within the
specified temperature range.
If you have any doubts
regarding where to install the
appliance, please turn to the
vendor, to our customer
service or to the nearest
Authorised Service Centre.
It must be possible to
disconnect the appliance
from the mains power
supply. The plug must
therefore be easily
accessible after installation.
ENGLISH 7

Related product manuals