EasyManua.ls Logo

AEG CDP 4212 - Device Component Overview; Component Diagram and Descriptions

AEG CDP 4212
Print Icon
To Next Page IconTo Next Page
To Next Page IconTo Next Page
To Previous Page IconTo Previous Page
To Previous Page IconTo Previous Page
Loading...
Übersicht der Bedienelemente
3
Overzicht van de bedieningselementen
Liste des di érents éléments de commande
Indicación de los elementos de manejo
Descrição dos elementos • Elementi di comando
Oversikt over betjeningselementene
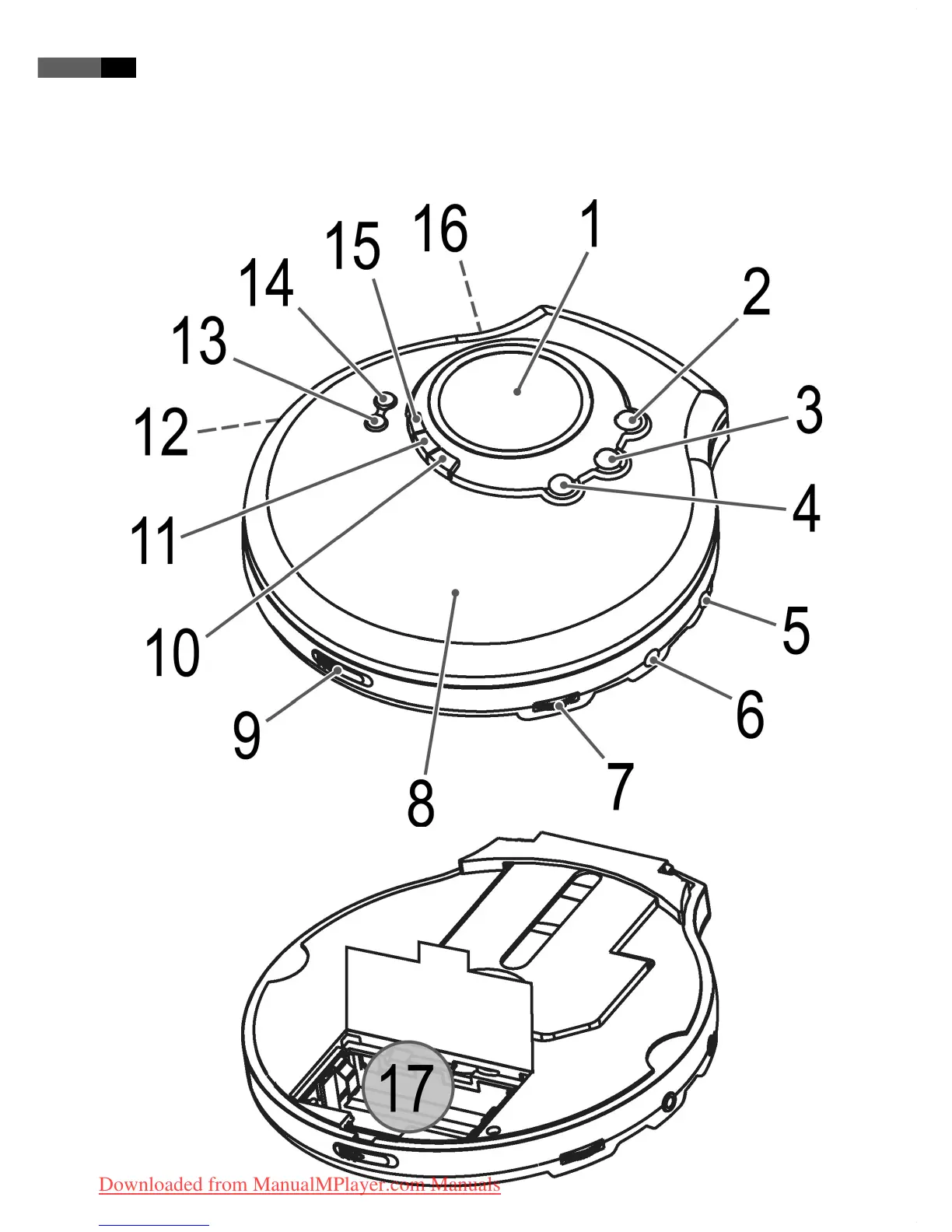
Overview of the Components
Przegląd elementów obsługi • Přehled ovládacích prvků
A kezelő elemek áttekintése •
Обзор деталей прибора
05-CDP 4212.indd 305-CDP 4212.indd 3 03.04.2008 14:03:20 Uhr03.04.2008 14:03:20 Uhr
Downloaded from ManualMPlayer.com Manuals

Related product manuals