EasyManua.ls Logo

AEG FFB73727PM - Control Panel

AEG FFB73727PM
28 pages
Print Icon
To Next Page IconTo Next Page
To Next Page IconTo Next Page
To Previous Page IconTo Previous Page
To Previous Page IconTo Previous Page
Loading...
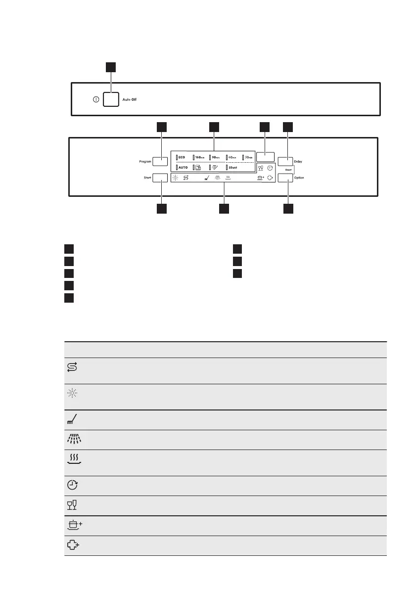
4. CONTROL PANEL
1
2 4 53
68 7
1
On/off button
2
Program button
3
Programme indicators
4
Display
5
Delay button
6
Option button
7
Indicators
8
Start button
4.1 Indicators
Indicator Description
Salt indicator. It is on when the salt container needs refilling. It is always
off while the programme operates.
Rinse aid indicator. It is on when the rinse aid dispenser needs refilling. It
is always off while the programme operates.
Washing phase indicator. It is on when the washing phase operates.
Rinsing phase indicator. It is on when the rinsing phase operates.
Drying phase indicator. It is on when you select a programme with the dry‐
ing phase. It flashes when the drying phase operates.
Delay indicator. It is on when you set the delay start.
GlassCare indicator.
ExtraPower indicator.
ExtraHygiene indicator.
ENGLISH 7

Related product manuals