EasyManua.ls Logo

AEG FFB74927ZM - Avant la Première Utilisation

AEG FFB74927ZM
56 pages
Print Icon
To Next Page IconTo Next Page
To Next Page IconTo Next Page
To Previous Page IconTo Previous Page
To Previous Page IconTo Previous Page
Loading...
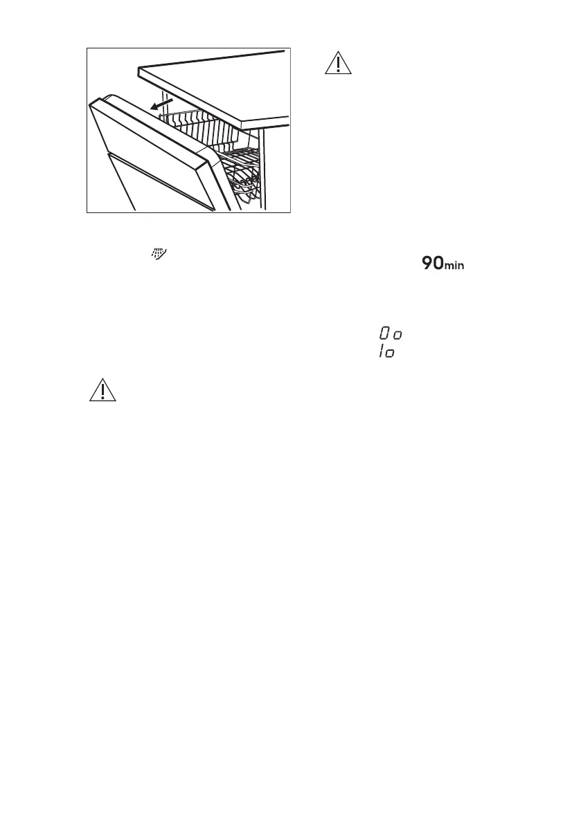
AirDry est automatiquement activée avec
tous les programmes, à l’exception du
programme
(le cas échéant).
La durée de la phase de séchage et le
moment auquel la porte est ouverte
varient selon le programme et les options
sélectionnés.
Lorsque la fonction AirDry ouvre la porte,
la durée restante du programme en
cours s’affiche.
ATTENTION!
Ne tentez pas de refermer la
porte de l'appareil dans les
2 minutes suivant son
ouverture automatique. Cela
pourrait endommager
l'appareil.
Si, par la suite, la porte est
fermée pendant au moins 3
minutes, le programme en
cours s'arrête.
ATTENTION!
Si un enfant a accès à
l'appareil, nous vous
conseillons de désactiver
l'option AirDry. L’ouverture
automatique de la porte peut
entraîner un risque.
Comment désactiver l’option
AirDry
Assurez-vous que l’appareil est en mode
utilisateur.
1. Appuyez sur la touche fonction
Delay.
L’indicateur
continue de
clignoter.
Les voyants restants sont éteints.
L’affichage indique le réglage
actuel :
= AirDry est désactivée.
= AirDry est activée.
2. Appuyez sur la touche fonction Delay
pour modifier le réglage.
3. Appuyez sur la touche marche/arrêt
pour confirmer le réglage.
8. AVANT LA PREMIÈRE UTILISATION
1. Assurez-vous que le réglage
actuel de l'adoucisseur d'eau est
compatible avec la dureté de
l'arrivée d'eau. Si ce n'est pas le
cas, réglez le niveau de
l'adoucisseur d'eau.
2. Remplissez le réservoir de sel
régénérant.
3. Remplissez le distributeur de liquide
de rinçage.
4. Ouvrez le robinet d'eau.
5. Lancez un programme pour éliminer
tous les résidus qui peuvent toujours
se trouver à l'intérieur de l'appareil.
N'utilisez pas de produit de lavage et
laissez les paniers vides.
Lorsque vous démarrez un programme,
l'appareil peut prendre 5 minutes pour
recharger la résine dans l'adoucisseur
d'eau. La phase de lavage ne démarre
qu'une fois cette procédure achevée. La
procédure sera répétée régulièrement.
www.aeg.com40

Related product manuals