EasyManua.ls Logo

AEG L8FEE162V - Page 33

AEG L8FEE162V
48 pages
Print Icon
To Next Page IconTo Next Page
To Next Page IconTo Next Page
To Previous Page IconTo Previous Page
To Previous Page IconTo Previous Page
Loading...
run a maintenance wash regularly (at
least once a month):
1. Remove all laundry from the drum.
2. Run a cotton programme with the
highest temperature with a small
quantity of powder detergent or, if
available, run the Limp. Máquina
programme.
14.6 Door seal
This appliance is designed with a self
cleaning draining system, allowing light
fluff fibers that fall off the clothes to be
drained out with the water. Regularly
examine the seal. Coins, buttons, other
small items can be recovered at the end
of the cycle.
Clean it when needed, using ammonia
cream cleanser agent without scratching
the seal surface.
Always obey the instructions
that you find on the
packaging of the product.
14.7 Cleaning the drum
Regularly examine the drum to prevent
unwanted deposits.
Rust deposits in the drum may occur due
to rusting foreign body in the washing or
tap water containing iron.
Clean the drum with special products for
stainless steel.
Always follow the
instructions that you find on
the packaging of the
product.
Do not clean the drum with
acidic descaling products,
scouring products containing
chlorine or iron or steel.
For a thorough clean:
1. Clean the drum with special products
for stainless steel.
Always follow the
instructions that you find on
the packaging of the
product.
2. Run a short cotton programme at
high temperature with empty drum
and with a small quantity of powder
detergent or, if available, run the
Limp. Máquina programme.
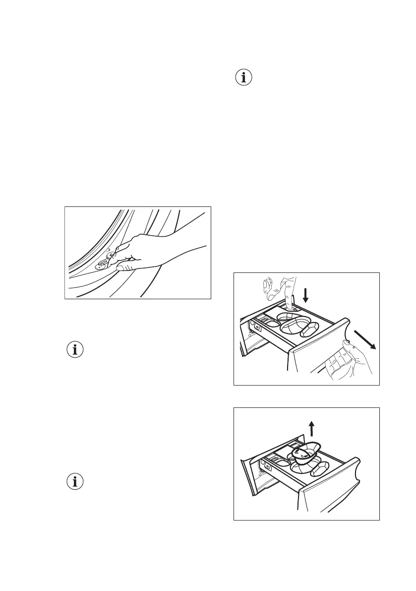
14.8 Cleaning the detergent
dispenser
To prevent possible deposits of dried
detergent, clotted fabric softener,
formation of mould in the detergent
dispenser, once in a while carry out the
following cleaning procedure:
1. Open the detergent dispenser. Press
the catch downwards as indicated in
the picture and pull it out.
2
1
2. Remove the container for liquid
detergent, if inserted.
3. Lift up the top cover of the
compartments to remove it.
ENGLISH 33

Related product manuals