EasyManua.ls Logo

AEG L9FEA69S - The Water Softener (Softwater Technology)

AEG L9FEA69S
56 pages
Print Icon
To Next Page IconTo Next Page
To Next Page IconTo Next Page
To Previous Page IconTo Previous Page
To Previous Page IconTo Previous Page
Loading...
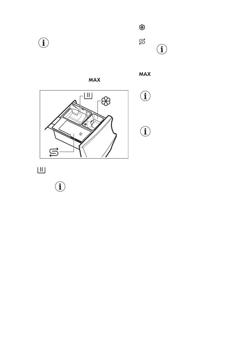
4.3 Detergent dispenser and
salt compartment
Always follow the
instructions that you find on
the packaging of the
detergent products. Anyway,
we recommend not to
exceed the maximum
indicated level in each
compartment ( ).
M
ax
M
a
x
Ma
x
Salt
Compartment for washing phase:
powder detergent, stain remover.
When using liquid
detergent, make sure
that the special
container for liquid
detergent is inserted.
Refer to 'Filling the
detergent and
additives' in 'Daily
Use' chapter.
Compartment for liquid additives
(fabric conditioner, starch).
Salt
Compartment for salt.
Read carefully 'The
Water Softener
technology ( Soft
Water)'.
Maximum level for detergent/
additives quantity.
When selecting a prewash
phase, put the detergent/
additive in a dosing ball
inside the drum.
After a washing cycle, if
necessary, remove any
detergent residue from the
detergent dispenser.
5. THE WATER SOFTENER (SOFTWATER
TECHNOLOGY)
5.1 Introduction
The water contains harsh minerals. The
higher the content of these minerals the
harder the water is.
Hard water can reduce the effectiveness
of the detergent, reduce the softness of
fabrics and contribute towards shrinkage
and colour fading.
This appliance is equipped with a water
softener able to provide the right degree
of water softening to preserve the fabric
integrity, colour brightness and ensuring
good wash performances at low
temperature.
The water softener should be adjusted
according to the water hardness of your
inlet water. A correct setting allows to
achieve the best washing results and the
maximum garments protection.
To set the water softener correctly,
please refer to 'How to set the water
hardness level'.
www.aeg.com12

Related product manuals