EasyManua.ls Logo

AEG LFA6I8472A - Accessories; Control Panel

AEG LFA6I8472A
40 pages
Print Icon
To Next Page IconTo Next Page
To Next Page IconTo Next Page
To Previous Page IconTo Previous Page
To Previous Page IconTo Previous Page
Loading...
6. ACCESSORIES
6.1 Available in
www.aeg.com/shop or from
authorised dealer
Read carefully the instructions supplied
with the accessory.
Only appropriate
accessories approved by
AEG ensure the safety
standards of the appliance. If
unapproved parts are used,
any claims will be
invalidated.
6.2 Fixing plate kit
If you install the appliance on a plinth
that is not an accessory supplied by
AEG, secure the appliance in the fixing
plates.
Read carefully the instructions supplied
with the accessory.
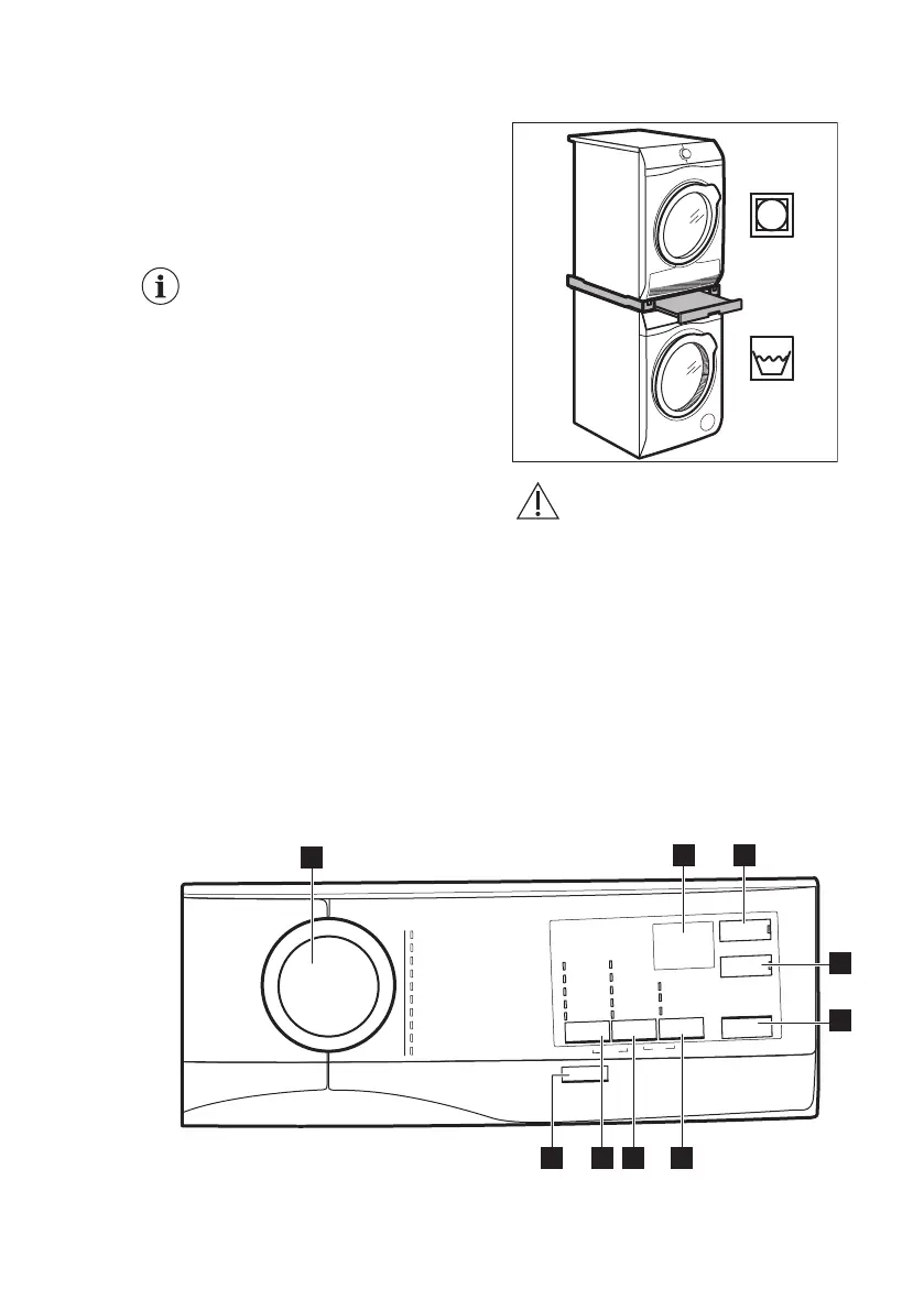
6.3 Stacking kit
The tumble dryer can be stacked on the
top of the washing machine only by
using the correct stacking kit.
WARNING!
Do not put the tumble dryer
under the washing machine.
Verify the compatible
stacking kit by checking the
depth of your appliances.
7. CONTROL PANEL
7.1 Control panel description
2
3
9 8 6
1
4
5
7
www.aeg.com12

Related product manuals