Home
AEG
Clock Radio
MRC 4150
Page 3 (Device Controls Overview)
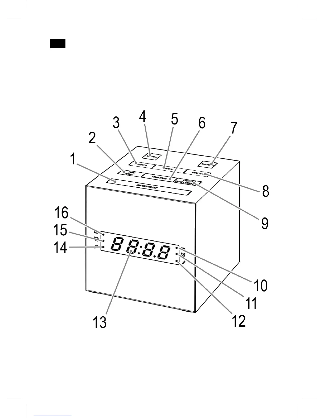
AEG MRC 4150 - Device Controls Overview; Control Element Identification
86 pages
Manual
Go to English
Save Page as PDF
To Next Page
To Next Page
To Previous Page
To Previous Page
Loading...
Übersicht der Bedienelemente
3
Overzicht van de bedieningselementen
Liste des différents éléments de commande
Indicación de los elementos de manejo
Elementi di comando
Overview of the Components
Przegląd elementów obsługi
A kezelő elemek áttekintése
MRC
4
150_
IM
_n
ew2
2
0
.
0
4
.1
6
2
4
Table of Contents
Main Page
Default Chapter
2
Table of Contents
2
Deutsch
3
A Kezelőelemek Áttekintése
3
Elementi DI Comando
3
Indicación de Los Elementos de Manejo
3
Liste des Diférents Éléments de Commande
3
Overview of the Components
3
Overzicht Van de Bedieningselementen
3
PrzegląD Elementów Obsługi
3
Übersicht der Bedienelemente
3
Bedienungsanleitung
4
Technische Daten
12
Garantie
13
Entsorgung
15
Gebruiksaanwijzing
16
Nederlands
17
Technische Gegevens
24
Verwijdering
25
Français
26
Mode D'emploi
26
Données Techniques
34
Élimination
35
Español
36
Instrucciones de Servicio
36
Datos Técnicos
44
Eliminación
45
Italiano
46
Istruzioni Per L'uso
46
Dati Tecnici
54
Smaltimento
55
English
56
Instruction Manual
56
Technical Data
64
Disposal
64
Język Polski
65
Instrukcja Obsługi
65
Dane Techniczne
73
Ogólne Warunki Gwarancji
74
Usuwanie
75
Magyarul
76
Használati Utasítás
76
Műszaki Adatok
84
Hulladékkezelés
85
Related product manuals
AEG MRC 4151
42 pages
AEG MRC 4157
90 pages
AEG MRC 4117
122 pages
AEG MRC 4136
78 pages
AEG MRC 4109
42 pages
AEG MRC 4142
90 pages
AEG MRC 4119 P
114 pages
AEG MRC 4145 F
54 pages
AEG MRC 4141 P
114 pages
AEG MRC 4105 P
86 pages
AEG MRC 4122 F
118 pages
AEG MRC 4122 F N
126 pages