EasyManua.ls Logo

AEG SDB416E1AS - Panel de Mandos

AEG SDB416E1AS
60 pages
Print Icon
To Next Page IconTo Next Page
To Next Page IconTo Next Page
To Previous Page IconTo Previous Page
To Previous Page IconTo Previous Page
Loading...
3.5 Cambio del sentido de
apertura de la puerta
Consulte el documento separado con
instrucciones de instalación y de
inversión de la puerta.
PRECAUCIÓN!
En todas las fases del
cambio de sentido de la
puerta, proteja la puerta de
arañazos con un material
resistente.
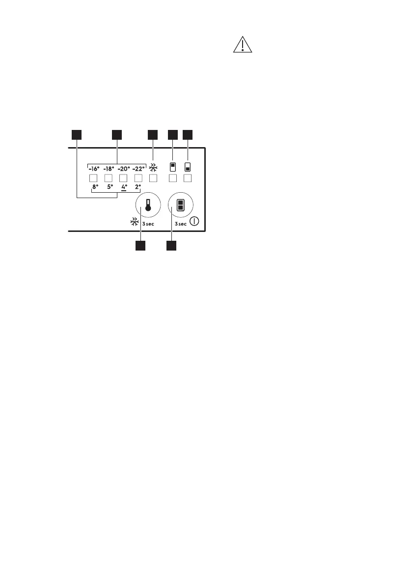
4. PANEL DE MANDOS
1 2
4 3
2 5242321
7 6
1. Indicador LED de temperatura del
frigorífico
2. Indicador LED de temperatura del
congelador
3. Indicador Frostmatic
4. Indicador del compartimento
congelador
5. Indicador del compartimento
frigorífico
6. Botón de encendido/apagado
Tecla de selección de compartimento
7. Tecla Frostmatic
Regulador de temperatura
4.1 Encendido
1. Introduzca el enchufe en la toma.
2. Toque la tecla de encendido/
apagado (6) si todos los indicadores
LED están apagados.
4.2 Apagado
Siga tocando la tecla de encendido/
apagado (6) durante 3 segundos.
Todos los indicadores se apagan.
4.3 Regulación de
temperatura
Antes de regular la temperatura, es
necesario seleccionar el compartimento
(frigorífico o congelador).
La cavidad superior o inferior se
selecciona con la tecla de selección del
compartimento (6).
Para seleccionar el compartimento
congelador, toque la tecla de selección
del compartimento (6) hasta que se
encienda el correspondiente LED a la
cavidad superior.
El indicador LED de temperatura
muestra la última temperatura
programada. El ajuste recomendado es
de -18 °C.
Para seleccionar el compartimento
frigorífico, toque la tecla de selección del
compartimento (6) hasta que se
encienda el correspondiente LED a la
cavidad inferior.
El indicador LED de temperatura
muestra la última temperatura
programada. El ajuste recomendado es
de +4 °C.
Para ajustar la temperatura:
1. Toque el botón del regulador de
temperatura (7).
El indicador de temperatura actual
parpadea.
2. Cada vez que se toca el botón
regulador de temperatura (7), el
ajuste se mueve una posición.
Cuando se selecciona una
temperatura, el símbolo LED
correspondiente al valor de
temperatura seleccionado parpadea
un momento y el ajuste se fija.
ESPAÑOL 47

Related product manuals