EasyManua.ls Logo

AEG SFB41011AS - Buller; Installation

AEG SFB41011AS
Print Icon
To Next Page IconTo Next Page
To Next Page IconTo Next Page
To Previous Page IconTo Previous Page
To Previous Page IconTo Previous Page
Loading...
3. Byt vid behov ut defekta
dörrtätningar. Kontakta auktoriserat
servicecenter.
8. INSTALLATION
8.1 Plats
Se monteringsanvisningarna
för installationen.
För att säkerställa bästa prestanda,
installera produkten på säkert avstånd
från värmekällor såsom element,
varmvattensberedare, direkt solsken, etc.
Se till att luften kan cirkulera fritt runt
kylens/frysens baksida.
8.2 Placering
Produkten ska installeras på en torr och
välventilerad plats inomhus där
omgivningstemperaturen motsvarar den
klimatklass som anges på typskylten:
Klimat-
klass
Omgivningstemperatur
SN +10°C till + 32°C
N +16°C till + 32°C
ST +16°C till + 38°C
T +16°C till + 43°C
Vissa funktionsproblem kan
uppstå för vissa modelltyper
vid användning utanför det
området. Korrekt funktion
kan endast garanteras inom
angivet temperaturområde.
Kontakta återförsäljaren, vår
kundtjänst eller närmsta
servicecenter om du är
osäker på var du ska
installera produkten.
8.3 Elektrisk anslutning
Kontrollera att nätspänningen och
nätfrekvensen överensstämmer med
produktens märkdata som anges på
typskylten före anslutning till ett
eluttag.
Produkten måste jordas. Nätkabelns
stickkontakt är försedd med en
kontakt för detta ändamål. Om
nätspänningsmatningen inte är
jordad, kontakta en kvalificerad
elektriker för att ansluta produkten till
en separat jord enligt gällande
bestämmelser.
Tillverkaren ansvarar inte för skador
orsakade av att ovanstående
säkerhetsåtgärder inte har följts.
Denna produkt uppfyller kraven enligt
EEG-direktiven.
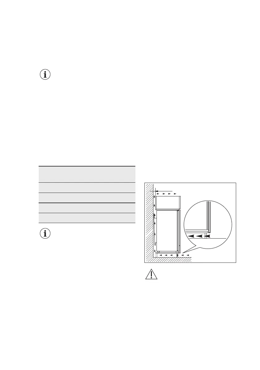
8.4 Ventilationskrav
Luftflödet bakom produkten måste vara
tillräckligt.
5 cm
min.
200 cm
2
min.
200 cm
2
FÖRSIKTIGHET!
Se monteringsanvisningarna
för installationen.
9. BULLER
Vissa ljud hörs under normal användning (kompressor, cirkulation av köldmedel).
www.aeg.com56

Related product manuals