EasyManua.ls Logo

AEG TR3051TW - Settings

AEG TR3051TW
60 pages
Print Icon
To Next Page IconTo Next Page
To Next Page IconTo Next Page
To Previous Page IconTo Previous Page
To Previous Page IconTo Previous Page
Loading...
7. SETTINGS
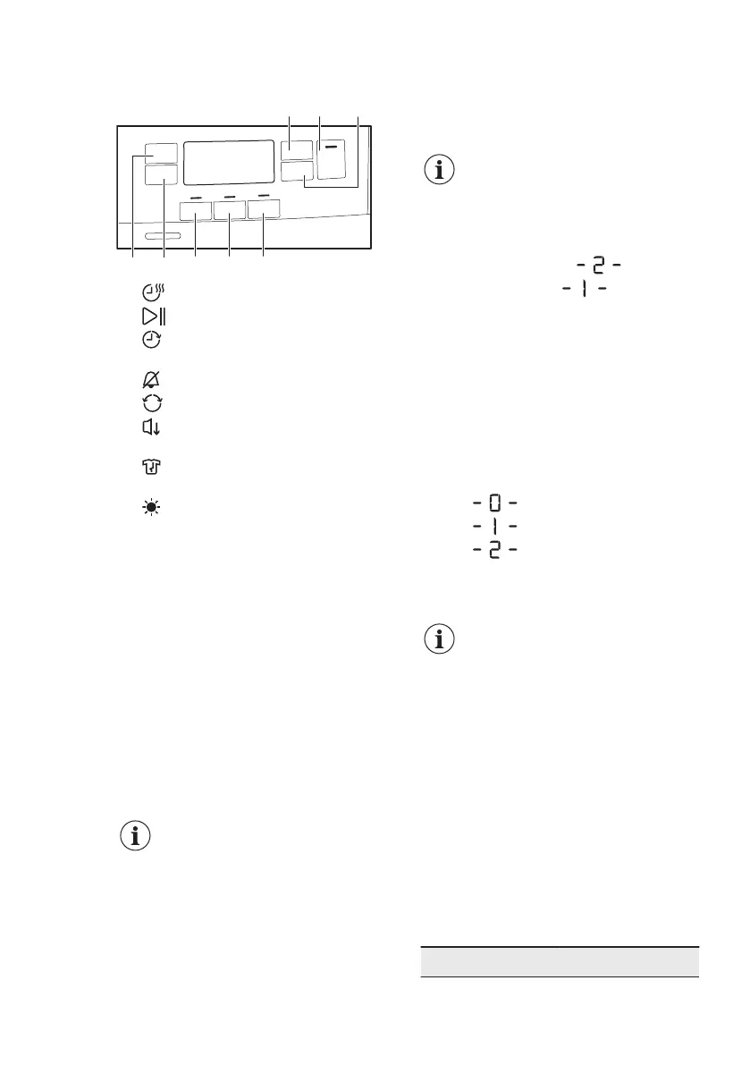
A B C
DEFGH
A. Zeit (Time Dry) touch button
B. Start/Pause touch button
C.
Zeitvorwahl (Delay Start) touch
button
D. Signal (End Alert) touch button
E. Reverse Plus touch button
F. Extra Leise (Extra Silent) touch
button
G.
Knitterschutz (Extra Anticrease)
touch button
H. Trockengrad (Dryness Level)
touch button
7.1 Child lock function
This option prevents children playing with
the appliance while a programme is
operating. The touch buttons are locked.
Only the on/off button is unlocked.
Activating the child lock
option:
1. Press the on/off button to activate the
appliance.
2. Press and hold touch button (D) for a
few seconds.
The child lock indicator comes on.
It is possible to deactivate
the child lock option while a
programme operates. Press
and hold the same touch
buttons until the child lock
indicator goes off. The Child
Lock function isn't available
for 8 s after switching on the
appliance.
7.2 Adjustment of the
remaining moisture
Every time you enter in the
"Adjustment of remaining
laundry moisture" mode,
previously set degree of
remaining moisture will
change into next value ( e.g
previously set will
change into ).
To change the default degree of
remaining moisture:
1. Press the on/off button to activate the
appliance.
2. Use the programme knob to set any
programme.
3. Wait approximately 8 seconds.
4. Press and hold buttons (F) and (E) at
the same time.
One of these indicators comes on:
maximum dryness
more dry laundry
standard dry laundry
5. Press and hold buttons (F) and (E)
again until the indicator of the correct
level comes on.
If the display returns to
the normal mode (the
time of the selected
programme from step 2.
will be displayed), while
setting the degree of
remaining moisture,
press and hold buttons
(F) and (E) once again to
enter to the "Adjustment
of remaining laundry
moisture" mode
(previously set degree of
remaining moisture will
change into next value).
6. To accept the selected degree of
remaining moisture, wait 5 s and the
display returns to the normal mode.
Dryness level Display symbol
ENGLISH 13

Related product manuals