EasyManua.ls Logo

Aerco B+09 - Page 41

Default Icon
50 pages
Print Icon
To Next Page IconTo Next Page
To Next Page IconTo Next Page
To Previous Page IconTo Previous Page
To Previous Page IconTo Previous Page
Loading...
1B+ II Water Wizard Water Heaters HE-110
Installation, Operation & Maintenance Manual OMM-0063_0D
11/28/2018 Page 41 of 50
AERCO International, Inc. 100 Oritani Dr. Blauvelt, New York 10913
Phone: 800-526-0288
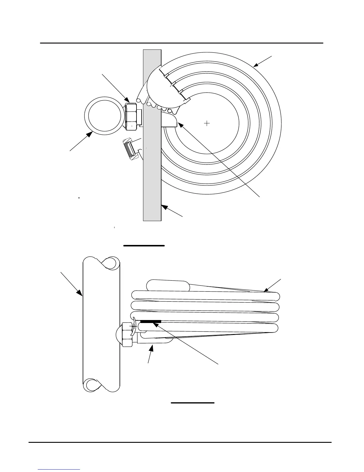
Figure 19: Positioning of Coil Retaining Tool
COIL RETAINING
TOOL
BOX HEADER
RISER
UNION
NUT
INSERT COIL RETAINING
TOOL HERE
BOX
HEADER
RISER
TOP VIEW (PARTIAL CUT-AWAY)
SIDE VIEW
COIL
ASSEMBLY
COIL
ASSEMBLY

Table of Contents

Related product manuals