EasyManua.ls Logo

Agilent Technologies E4431B - Page 13

Agilent Technologies E4431B
20 pages
Print Icon
To Next Page IconTo Next Page
To Next Page IconTo Next Page
To Previous Page IconTo Previous Page
To Previous Page IconTo Previous Page
Loading...
Installation Note E4400-90214 13
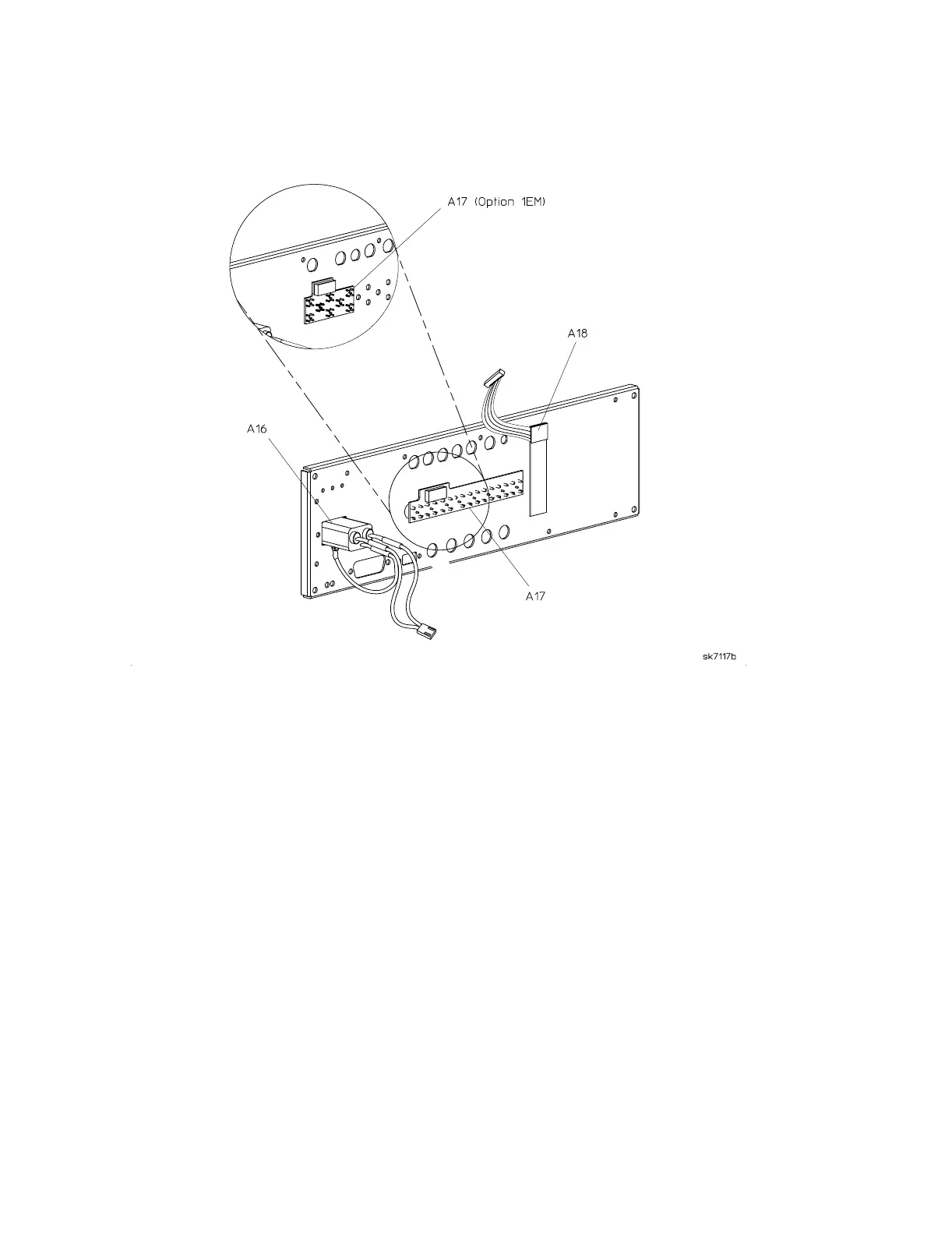
Figure 5 Rear panel assembly
Install the Option UND Rear Panel
1. Refer to Figure 4 on page 11. Attach the new Option UND rear panel to the signal generator chassis
with the 10 screws (item 5). Torque to 9 in-lbs.
2. Reinstall the hex screws and washers for the AUXILIARY INTERFACE. Torque to 6 in-lbs.
3. Reinstall the hex screws and washers for the GPIB connector. Torque to 9 in-lbs.
4. Reinstall the nuts and washers securing the BNC connectors at the base of the rear panel. Torque to
21 in-lbs.
5. Reconnect the nut connecting the COHERENT CARRIER cable (W12) to the rear panel. Torque to
9in-lbs.
6. Reconnect A16W1 to the A4 power supply.
7. Reconnect the bracket at the rear of the signal generator using the two bracket screws.
8. Refer to Figure 3 on page 10. Reinstall the bottom chassis cover with the 15 cover screws. Torque to
9 in-lbs.

Other manuals for Agilent Technologies E4431B

Related product manuals