EasyManua.ls Logo

Agilent Technologies E8362B - Page 356

Agilent Technologies E8362B
392 pages
Print Icon
To Next Page IconTo Next Page
To Next Page IconTo Next Page
To Previous Page IconTo Previous Page
To Previous Page IconTo Previous Page
Loading...
8-6 Service Guide E8364-90026
General Purpose Maintenance Procedures PNA Series Microwave Network Analyzers
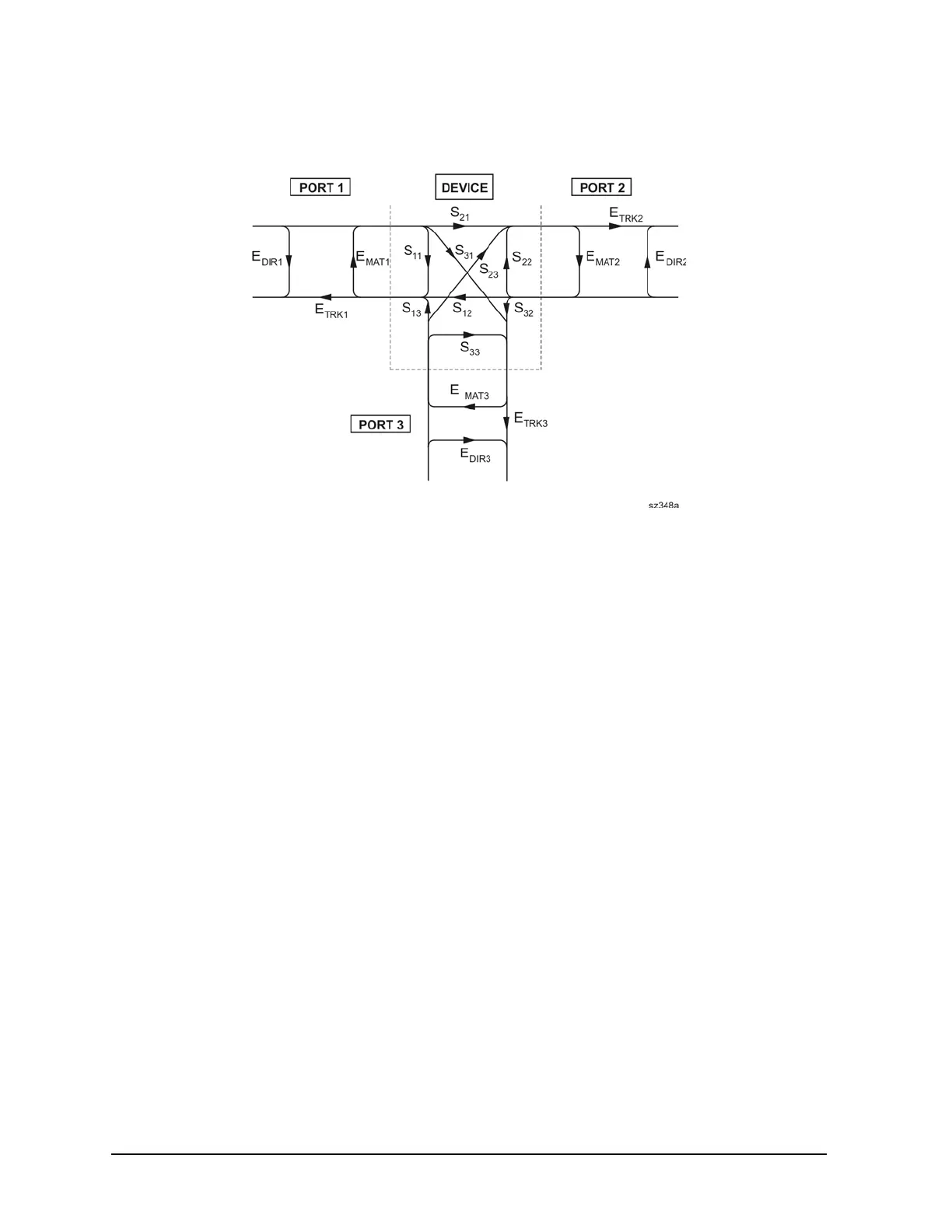
Error Terms E8362B, E8363B, E8364B
Figure 8-3 Flowgraph of Three-Port Error Terms
where:
E = error term
DIR = Directivity
MAT = Forward Source Match and Reverse Load Match
TRK = Forward Reflection Tracking and Reverse Transmission Tracking
For the case of a full 3-port calibration, port 1 has
three Match error terms:
S11 source match
S12 load match
S13 load match
and three Tracking error terms:
S11 reflection tracking
S12 transmission tracking
S13 transmission tracking
There are six isolation terms not shown.

Table of Contents

Other manuals for Agilent Technologies E8362B

Related product manuals