EasyManua.ls Logo

Aisle-Master Bendi - Tilting Considerations; Attachments and Load Centre Impact

Aisle-Master Bendi
28 pages
Print Icon
To Next Page IconTo Next Page
To Next Page IconTo Next Page
To Previous Page IconTo Previous Page
To Previous Page IconTo Previous Page
Loading...
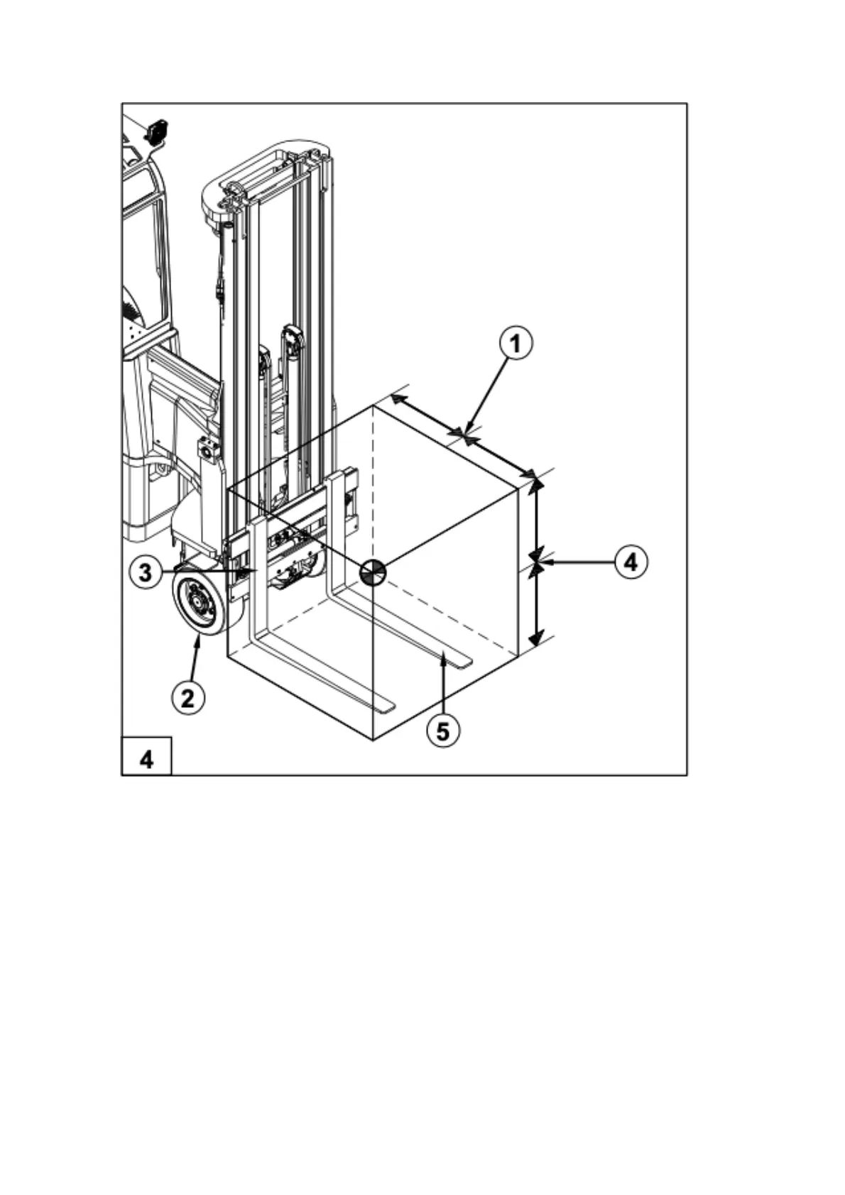
Tilting Considerations
The amount of forward and rearward tilt you should use is governed by the
application.
Attachments to the forks may affect the load centre. When the factory, dealer, or
distributor installs attachments approved by, Aisle- Master. an additional
identification plate should be attached to the truck. The new plate identifies the
type of attachment, the changes in the load centres, and the rated capacity.
Determining the Weight of the