EasyManua.ls Logo

Akai S01 - Page 18

Akai S01
63 pages
Print Icon
To Next Page IconTo Next Page
To Next Page IconTo Next Page
To Previous Page IconTo Previous Page
To Previous Page IconTo Previous Page
Loading...
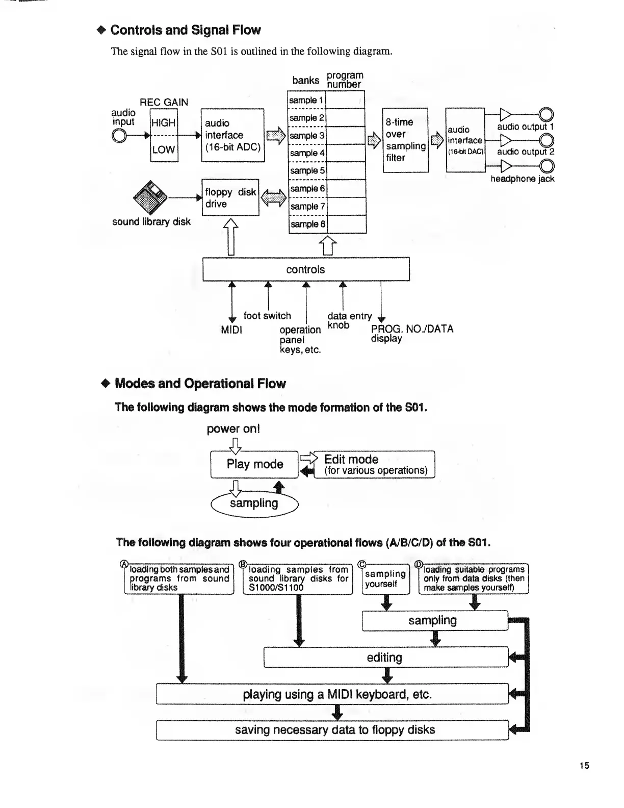
Controls and
Signal Flow
The signal flow in the SOI is outlined in the
following
diagram.
banks
num
k
er
audio
input
O-H
REC GAIN
HIGH
LOW
audio
interface
(16-bit ADC)
floppy disk
drive
sound library disk
A
sample 1
sample 2
sample
3
sample 4
samples
samples
sample?
8
ft
controls
-.
^
foot switch
MIDI
operation
8-time
over
sampling
filter
H>
audio
audi0 out
P
ut
1
interface
£> Q)
a
dac)
audio
output 2
_Jh>
o
headphone jack
data
entry
knob
pR0G N
o./DATA
I
display
ys, etc.
Modes and Operational Flow
The following diagram
shows the mode formation of the S01.
power on!
J)-
Play mode
$.
Edit mode
(for various operations)
The following
diagram shows four
operational flows
(A/B/C/D)
of the
S01.
®-
loading both
samples and
rograms from
sound
disks
jJ5w^ng~samp\eslfom
S1000/S1
rary
100
©
sampling
yourself
#
loading suitable
programs
only
from
data
disks (then
make
samples
yourself)
sampling
Z3Z
editing
playing
using
a
MIDI keyboard, etc.
saving necessary
data to
floppy disks
15

Related product manuals