EasyManua.ls Logo

Alde 3010 213 - Page 77

Alde 3010 213
Print Icon
To Next Page IconTo Next Page
To Next Page IconTo Next Page
To Previous Page IconTo Previous Page
To Previous Page IconTo Previous Page
Loading...
77
IT
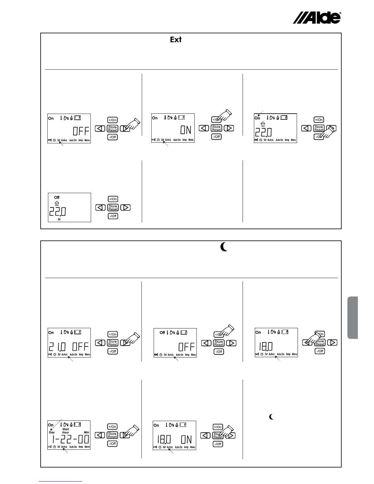
Avvio esterno14.
Premere il pulsante con la frec-1.
cia finché il simbolo “Ext” non
lampeggia. Sul display, accanto
alla temperatura appare “OFF”.
Premere il pulsante +/On. Sul 2.
display, accanto alla temperatu-
ra appare “ON”.
Premere il pulsante con la 3.
freccia finché il simbolo “On”
(interruttore principale) non
lampeggia. Premere il pulsante
-/Off.
Questa funzione si utilizza per avviare il riscaldamento
dall’esterno. Per utilizzare questa funzione deve essere
installato l’avvio esterno (vedere le istruzioni per veicoli,
imbarcazioni o abitazioni). Per attivare l’avvio esterno è
necessario innanzitutto visualizzare la barra dei menu
inferiore con le varie funzioni (vedere punto 12).
Quando il pannello torna in 4.
standby, il display visualizza
”Off” ed “Ext”. L’avvio esterno è
attivato.
All’attivazione dell’avvio ester-
no, lo scaldabagno si avvia
con le ultime impostazioni e sul
display appare “ON” (interrut-
tore principale). Il display non
si accende se non è collegato
all’alimentazione elettrica a 12
V. La funzione di avvio esterno
rimane attivata.
Per disattivare l’avvio esterno,
selezionare il simbolo “Ext” nella
modalità di impostazione e pre-
mere il pulsante -/Off.
Premere il pulsante con la 1.
freccia finché il simbolo della
variazione automatica della
temperatura non lampeggia.
Il display visualizza la tempera-
tura e “OFF”.
Premere il pulsante +/On. 2.
Lampeggia “Set” e il display
visualizza “OFF”. Premere il
pulsante +/On per attivare la
funzione. Il display visualizza
“ON”.
Premere il pulsante con la frec-3.
cia sinistra. Viene visualizzata la
temperatura desiderata.
Regolare quindi la temperatura
con il pulsante +/On o -/Off.
Questa funzione si utilizza per impostare la variazione
automatica della temperatura, ad es. durante la notte.
Per attivare la variazione automatica della temperatura
è necessario innanzitutto visualizzare la barra dei menu
inferiore con le varie funzioni (vedere punto 12).
Variazione automatica della temperatura Auto15.
Premere quindi Store e il display 4.
visualizza l’ora di avvio. Impo-
stare l’ora di avvio come
indicato al punto 13 e premere il
pulsante Store.
Impostare quindi l’ora di arresto 5.
e premere nuovamente Store.
Ora il display visualizza la
temperatura desiderata e “ON”.
Selezionando il giorno 0, la 6.
variazione della temperatura
viene applicata tutti i giorni.
Quando il pannello torna in
standby, il display visualizza
Auto .
blinkar
lampeggia
blinkar
lampeggia
blinkar
lampeggia
blinkar
lampeggia
blinkar
Set
lampeggia
blinkar
Set
lampeggia
blinkar
blinkar
lampeggia
lampeggia
blinkar
lampeggia
IT

Related product manuals