EasyManua.ls Logo

Alesis MultiMix12FX - Page 6

Alesis MultiMix12FX
12 pages
Print Icon
To Next Page IconTo Next Page
To Next Page IconTo Next Page
To Previous Page IconTo Previous Page
To Previous Page IconTo Previous Page
Loading...
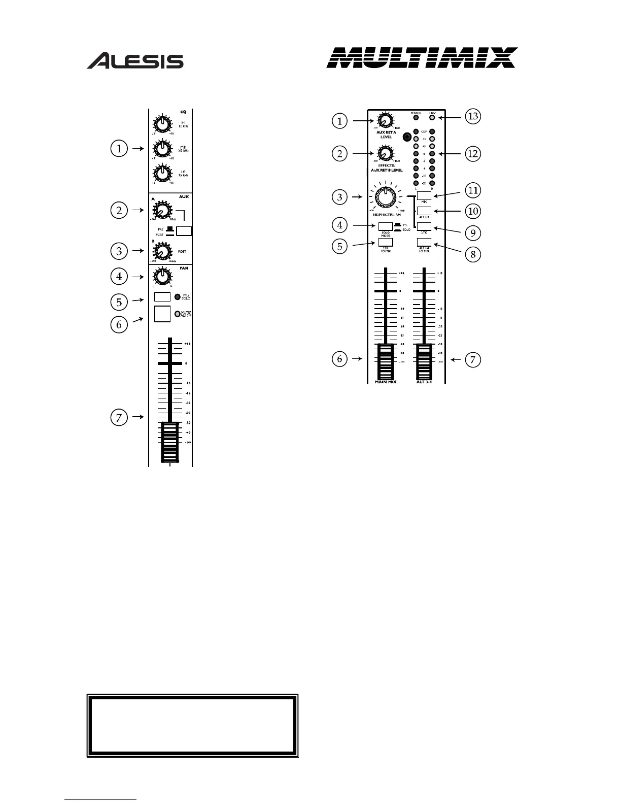
CARACTERÍSTICAS DEL CANAL
1. EQ: Amplifica o atenúa las respectivas frecuencias
para cada canal.
2. AUX A: Routes channel signal to an external device
like an effects processor. (PRE or POST fader
depending on switch position.
3. AUX B: Dirige la señal del canal a un dispositivo
externo como, por ejemplo, un procesador de
efectos. (Pre o post fader dependiendo de la
posición del interruptor)..
4. PAN/BALANCE: Asigna la señal del canal a
cualquier punto en el espectro mono o estéreo.
5. PFL/SOLO: Permite que la señal del canal pueda
oírse antes de ser afectada por el fader.
6. MUTE/ALT 3/4: Silencia la señal del canal oída
en la SALIDA MAIN y dirige la señal a la SALIDA
ALT 3/4.
7. FADER DE CANAL: Controla el nivel de la señal
de las salidas de MIC (micro) y LINE (línea).
CARACTERÍSTICAS DEL MASTER
Nota: Es recomendable apagar el MULTIMIX antes de
conectar y desconectar alguna fuente a las entradas de la
unidad.
1. AUX RET A: Controla el nivel de la señal que
vuelve de AUX A..
2. EFFECTS/AUX RET B: Controla el nivel de
señal de los efectos internos o el nivel que vuelve de
AUX B en caso de que esté en uso.
3. HDPH/CTRL RM: Controla el nivel enviado a las
salidas de AURICULARES o de CONTROL RM.
4. SOLO MODE: Alterna las señales del canal de solo
a escucha de pre-fader a pos-fader.
5. 2TK TO MIX: Dirige la salida de 2TK hacia el
fader MAIN.
6. MAIN MIX: Controla el nivel de las MAIN
OUTPUTS.
7. ALT 3/4: Controla el nivel de las ALT 3/4
OUTPUTS.
8. ALT 3/4 TO MIX: Dirige la señal de ALT 3/4
hacia la salida de MAIN MIX.
9. INTERRUPTOR DE 2TK: Dirige la señal de la
2TK hacia la salida de HDPH/CTRL RM.
10. INTERRUPTOR DE ALT 3/4: Dirige la señal
de la ALT 3/4 hacia la salida de HDPH/CTRL RM.
11. INTERRUPTOR DE MIX: Dirige la señal de la
MAIN MIX hacia la salida de HDPH/CTRL RM.
12. MEDIADORES LED: Monitorea el nivel de la
señal de audio.
13. LED DE +48V: Indica que la ALIMENTACIÓN
PHANTOM está activada para las salidas de micro
(MIC).
CABLE S/PDIF: Es recomendable que utilice un cable
que esté específicamente diseñado para transmitir una
señal digital y que no sobrepase los 5 metros (16,4 pies)
de longitud. *Utilice solo cables de alta calidad para
transferencias digitales
*
BANDA DEL CANAL
SECCIÓN DEL MASTER

Other manuals for Alesis MultiMix12FX

Related product manuals