EasyManua.ls Logo

ALFRA APS 70 - Page 64

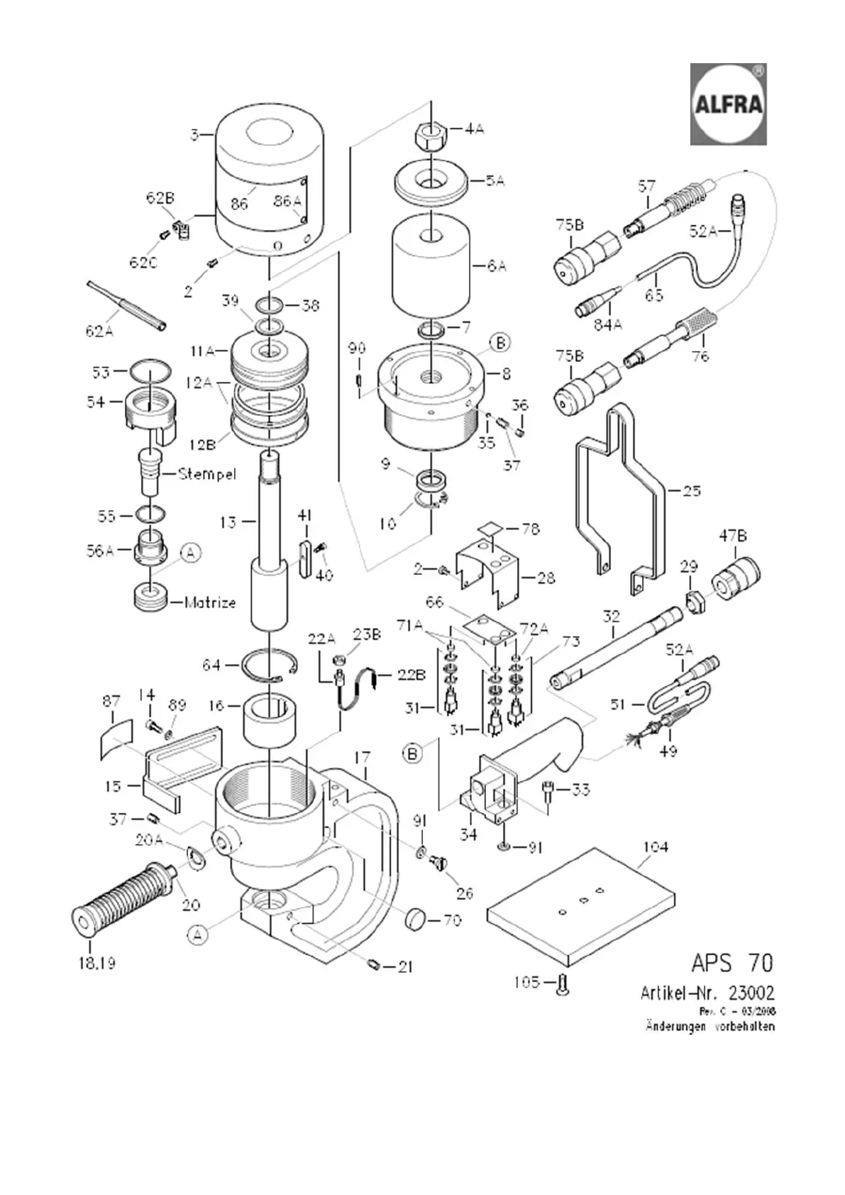
ALFRA APS 70
Print Icon
To Next Page IconTo Next Page
To Next Page IconTo Next Page
To Previous Page IconTo Previous Page
To Previous Page IconTo Previous Page
Loading...
64

Related product manuals