EasyManua.ls Logo

Allen-Bradley PowerFlex 20-750-S1 - Page 274

Allen-Bradley PowerFlex 20-750-S1
302 pages
Print Icon
To Next Page IconTo Next Page
To Next Page IconTo Next Page
To Previous Page IconTo Previous Page
To Previous Page IconTo Previous Page
Loading...
274 Rockwell Automation Publication 750-IN001O-EN-P - October 2014
Chapter 5 I/O Wiring
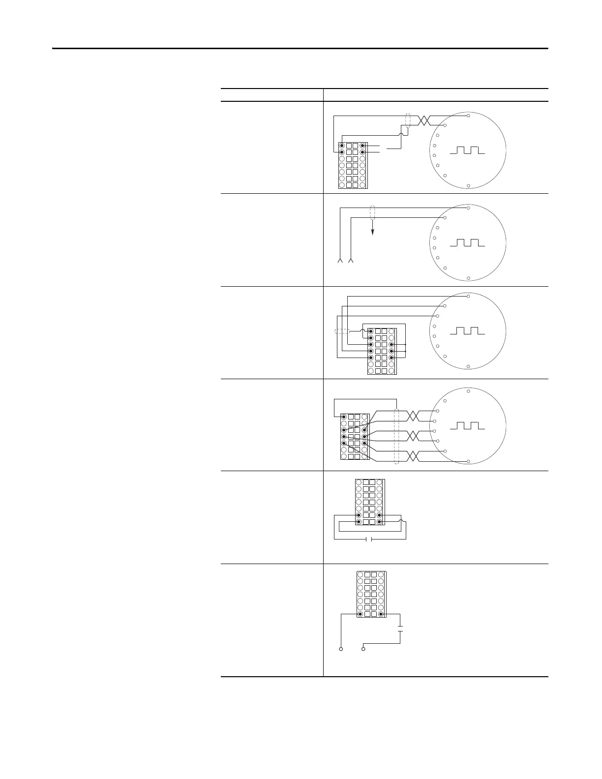
Table 87 - Single Incremental Encoder Sample Wiring
I/O Connection Example
Encoder Power by Drive
12V DC, 250 mA
OR
5V DC, 250 mA
Separately Powered Encoder
Encoder Signal –
Single-Ended, Dual Channel
Encoder Signal –
Differential, Dual Channel
Homing Signal –
Internal Drive Power
Homing Signal –
External Power
Com
+12
Sh
+5
VDC
Com
Sh
Com
A-
B-
Z-
A
B
Z
Sh
Z-
Z
Sh
B-
B
A-
A
HmC
+24V
24VC
Hm
Home Switch
HmC
Hm
Home Switch
Common +24V
External Power Supply

Table of Contents

Related product manuals