EasyManua.ls Logo

Allied A95UH - Page 11

Default Icon
57 pages
Print Icon
To Next Page IconTo Next Page
To Next Page IconTo Next Page
To Previous Page IconTo Previous Page
To Previous Page IconTo Previous Page
Loading...
506724-01 Page 11 of 57Issue 1108
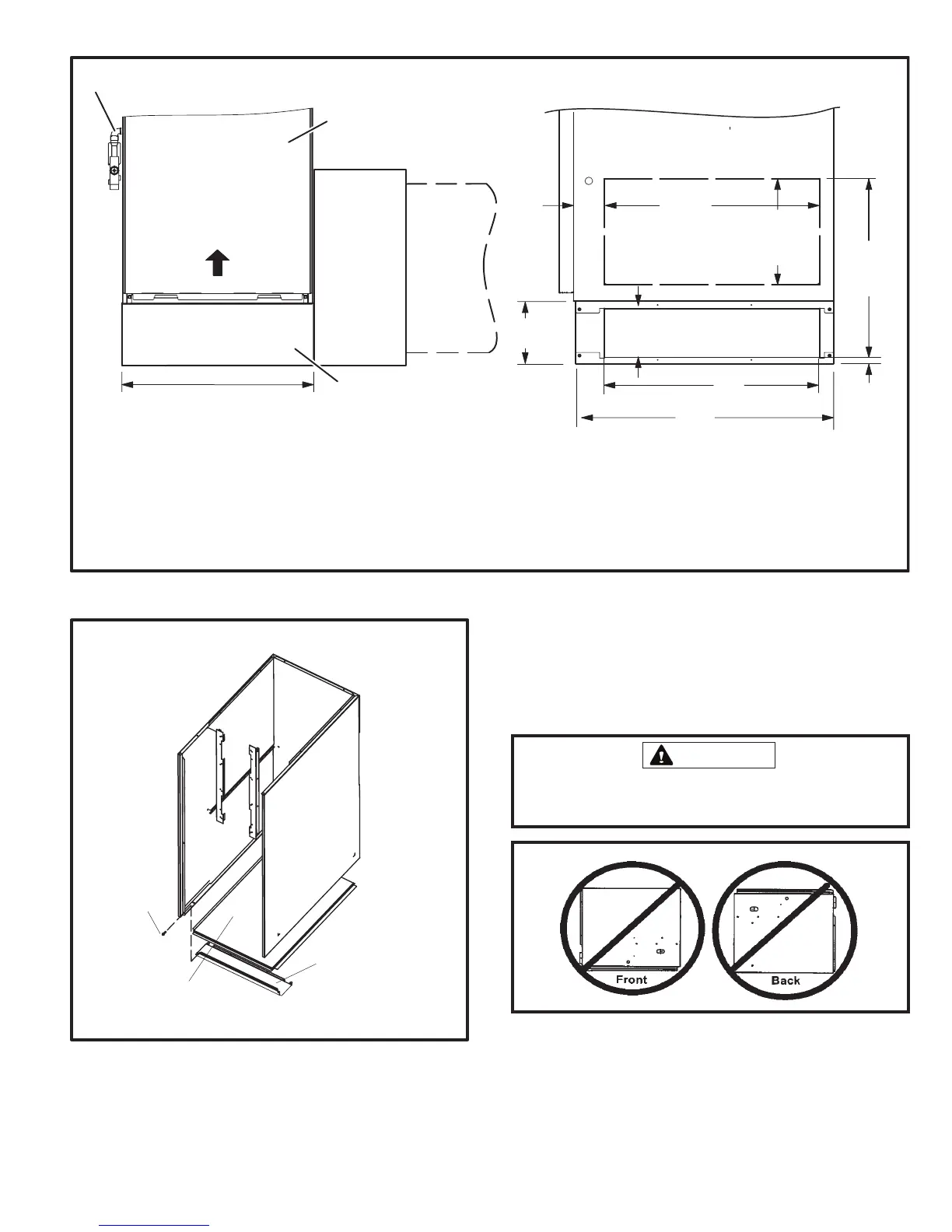
Removing the Bottom Panel
Remove the two screws that secure the bottom cap to the
furnace. Pivot the bottom cap down to release the bottom
panel. Once the bottom panel has been removed, reinstall
the bottom cap. See Figure 13.
Horizontal Applications
WARNING
Do not install the furnace on its front or its back. See
Figure 14.
Figure 14
FIGURE 12
Optional Return Air Base
(Upflow Applications Only)
NOTE− Optional side return air lter kits are not for use with return air base.
1
Both the unit return air opening and the base return air opening must be covered by a single plenum or IAQ cabinet.
Minimum unit side return air opening dimensions for units requiring 1800 cfm of air and over (W x H): 23 x 11 in. (584 x 279 mm).
The opening can be cut as needed to accommodate plenum or IAQ cabinet while maintaining dimensions shown.
Side return air openings must be cut in the eld. There are cutting guides stenciled on the cabinet for the side return air
opening. The size of the opening must not extend beyond the markings on the furnace cabinet.
2
To minimize pressure drop, the largest opening height possible (up to 14 inches) is preferred.
FRONT VIEW
1
Unit side return air
Opening
SIDE VIEW
3−1/4
(83)
1
23 (584)
Overall
(Maximum)
(584)
23
3/4
(19)
1
22−7/16
(570)
Overall
(Maximum)
SIDE RETURN
AIR OPENINGS
(Either Side)
5−5/8
(143)
1
Minimum
11 (279)
2
Maximum
14 (356)
(683)
26−7/8
7−1/4
(184)
FURNACE
FRONT
AIR FLOW
IF BASE
IS USED
WITHOUT
IAQ CABINET,
A SINGLE
RETURN AIR
PLENUM
MUST
COVER BOTH
UNIT AND
RETURN
AIR BASE
OPENINGS
INDOOR AIR
QUALITY
CABINET
(PCO, Filter
Cabinet, etc.)
AIR BASE
OPTIONAL
RETURN
CONDENSATE
TRAP
17−1/2 (446) B Width (68W62)
21 (533) C Width (68W63)
24−1/2 (622) D Width (68W64)
Removing the Bottom Panel
FIGURE 13
Screw
Bottom Panel
Bottom Cap

Related product manuals