EasyManua.ls Logo

Allison Transmission 4700

Allison Transmission 4700
162 pages
To Next Page IconTo Next Page
To Next Page IconTo Next Page
To Previous Page IconTo Previous Page
To Previous Page IconTo Previous Page
Loading...
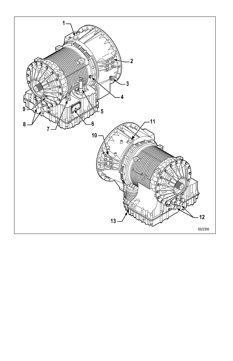
(1)Breather
(2)MountingPad
(3)InputSpeedSensor
(4)TurbineSpeedSensor
(5)FillTubeandDipstick
(6)Nameplate
(7)FeedthroughHarness
Connector
(8)CoolerPorts
(9)OutputSpeedSensor
(10)MountingPad(BothSides)
(11)Breather
(12)CoolerPorts
(13)Main-PressureT ap
Figure2–2.4000/4200/4430/4440/4500/4600Series
24

Table of Contents

Related product manuals