EasyManua.ls Logo

Allison Transmission AT 542 - 2-3. UNCOUPLING ENGINE FROM DRIVELINE

Allison Transmission AT 542
52 pages
Print Icon
To Next Page IconTo Next Page
To Next Page IconTo Next Page
To Previous Page IconTo Previous Page
To Previous Page IconTo Previous Page
Loading...
14
2–3. UNCOUPLING ENGINE FROM DRIVELINE
Chock the wheels to prevent the vehicle from rolling.
Disconnect the vehicle driveline from the transmission output flange
or yoke. Position the drive shaft to avoid interference with
transmission removal.
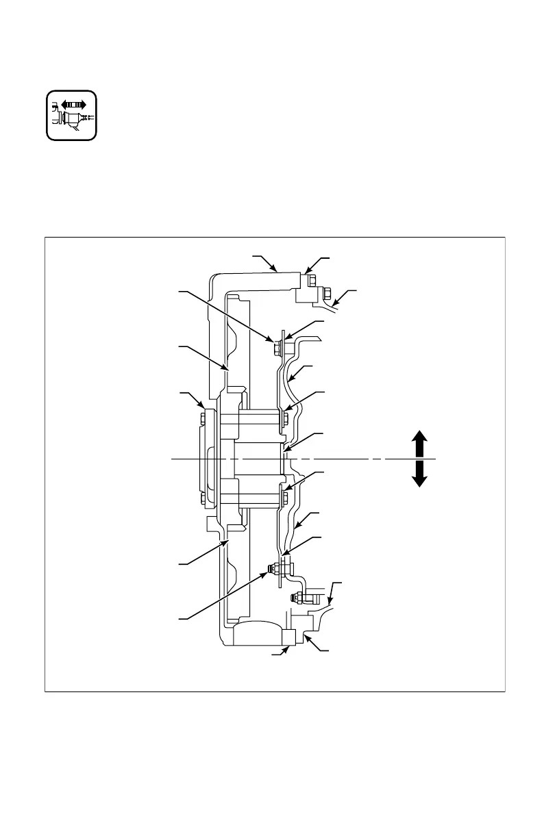
Figure 2–1 shows two typical methods of coupling the engine and
transmission. Remove the six drive cover bolts (all models except AT 543), or
six flexplate nuts (AT 543).
Figure 2–1. Typical Coupling Methods
V03006
WEAR PLATE
FLEXPLATE
WEAR PLATE
CONVERTER
PILOT PLATE
DRIVE COVER
BOLT
FLYWHEEL/RING
GEAR ASSEMBLY
FLYWHEEL/RING
GEAR ASSEMBLY
DRIVE COVER
NUT
SAE #3 TO
SAE #2 ADAPTER
TRANSMISSION
HOUSING
CONVERTER
DRIVE COVER
CONVERTER
DRIVE COVER
AT 543
AT 1500
AT 540
AT 545
TRANSMISSION
HOUSING
FLEXPLATE
SAE #3 TO
SAE #2 ADAPTER
SAE #2
FLYWHEEL HOUSING
SAE #2
FLYWHEEL HOUSING
CRANKSHAFT

Table of Contents

Other manuals for Allison Transmission AT 542

Related product manuals