EasyManua.ls Logo

Allsource 42000 - Assembly - Step 5

Allsource 42000
31 pages
Print Icon
To Next Page IconTo Next Page
To Next Page IconTo Next Page
To Previous Page IconTo Previous Page
To Previous Page IconTo Previous Page
Loading...
8
42000
Operating Instructions and Parts Manual
High Pressure Abrasive Blast Cabinet
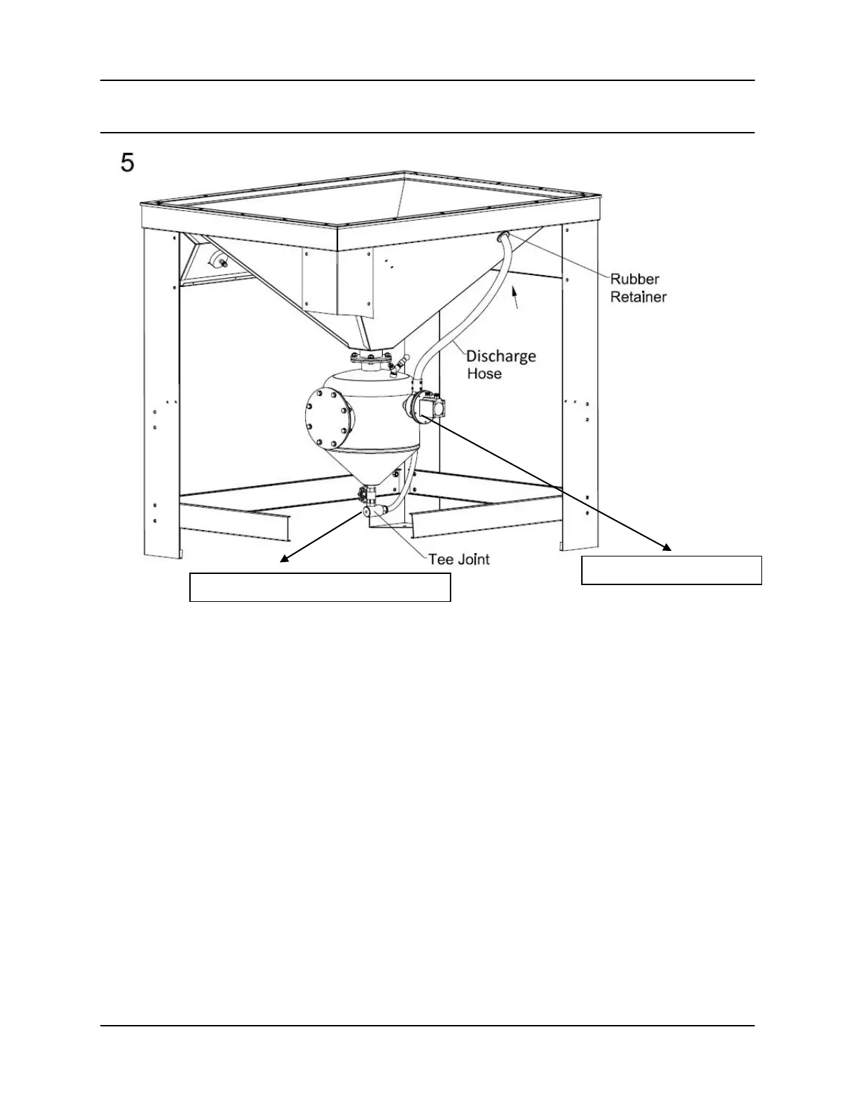
Stand the lower assembly upright as shown, locate #9 Cylinder Block for tank in the
rear, and then assemble #52 abrasive hose with tee joint and install the discharge
hose through the rubber retainer as shown.
Assemble #52 abrasive hose with tee joint
#9 Cylinder Block for tank