EasyManua.ls Logo

Alpha Boilers SY24 - Overheat Thermostat; Gas Valve

Default Icon
36 pages
Print Icon
To Next Page IconTo Next Page
To Next Page IconTo Next Page
To Previous Page IconTo Previous Page
To Previous Page IconTo Previous Page
Loading...
21
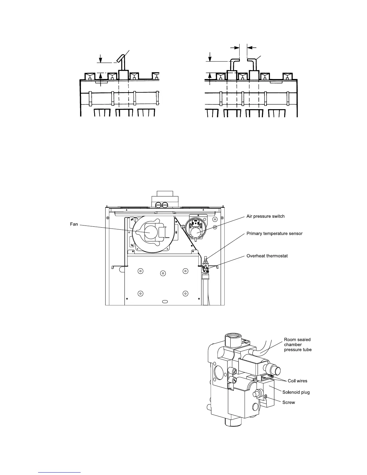
8.9 OVERHEAT THERMOSTAT - Fig. 19
1. Gain access to the combustion chamber as in section 8.1.
2. Disconnect the wiring from the overheat thermostat.
3. Remove the two fixing screws and remove the overheat thermostat from the heat exchanger.
4. Fit the new overheat thermostat and re-assemble in reverse order.
Alpha SY24 - Component Replacement
Fig. 18
Flame sensing electrode
2 to 4 mm
5 to 6 mm
Ignition electrodes
5 to 6 mm
8.10 GAS VALVE - Fig. 20
1. Gain access behind the casing as in section 8.1.
2. Disconnect the coil wires and pressure tube from the gas
valve.
3. Loosen the one screw securing the electrical plug and
disconnect the plug.
4. Disconnect the burner manifold union and the gas inlet pipe
union from the manifold.
5. Remove the two manifold screws from beneath the boiler.
6. Carefully push the valve towards the rear of the boiler (take
care not to damage the manifold sealing washer) and lift out
the valve assembly.
7. Fit the new assembly and re-assemble in reverse order.
8. Light the boiler and test for gas soundness. (Refer to
Commissioning, section 5.4).
9. Complete re-assembly as described in Routine Servicing,
section 7.4 paragraphs 5 to 9.
Fig. 19
Fig. 20