EasyManua.ls Logo

ALPHA WORKS GUR032 - Technical Details; Installation; Unpack and inspect reel; Install according to regulations

Default Icon
8 pages
Print Icon
To Next Page IconTo Next Page
To Next Page IconTo Next Page
To Previous Page IconTo Previous Page
To Previous Page IconTo Previous Page
Loading...
TECHNICAL DETAILS
Welcome to the First ever Alex Capable Smart Extension Cord Reel.
INSTALLATION
1. Unpack and inspect reel for damage.Turn by hand to check for smooth operation.Check for
completeness.
2. The cord reel must be installed in premises comforming to current regulation and standards
covering systems and work environments.
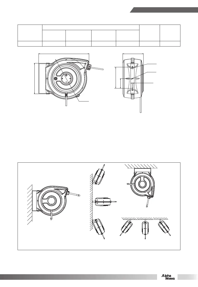
3. Secure the cord reel to the wall or the ceiling according to the installation diagrams.Using
screw anchors or suitable screws which must be fitted in the holes in the brackets.
4. Adjust the cord stopper to the suitable position when required.
This cord reel comes with a Wi-Fi Outlet with two sockets. It's compatiable with Amazon Alexa
and Google Assistant for voice control. Connect devices to the smart outlet by using the free
Smart Life App on your phone and enjoy hands-free lifestyle.
13
Ampere
(A)
SKU#
GUR032 314 SJTOW 50
Number
of Core
AWG
Specification of Cord
Type
Length
(ft)
125
Volt
(V)
on the wall & ceiling
428.7 [16.88"]
Ø350 [13.78"]
261 [10.28"]
175 [6.88"]
Ø15.5 [0.61"]
Ø8.5 [0.33"]
8.5 [0.33"]
83 [3.27"]
185 [7.28"]
1