EasyManua.ls Logo

Alpha CB28 - Page 14

Alpha CB28
36 pages
Print Icon
To Next Page IconTo Next Page
To Next Page IconTo Next Page
To Previous Page IconTo Previous Page
To Previous Page IconTo Previous Page
Loading...
14
Alpha CB24/28 - Installation
Fig. 13 - Side flue
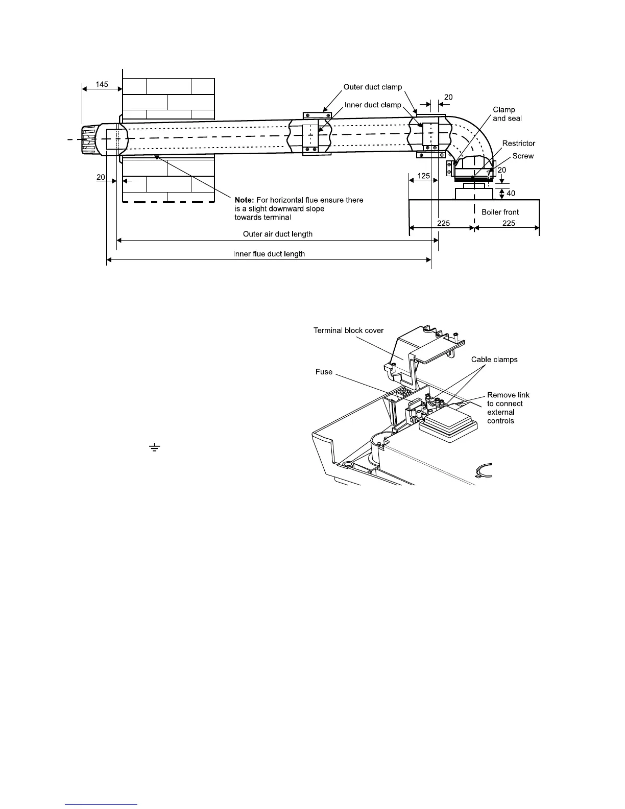
4.8 CONNECT THE MAINS SUPPLY - Fig. 14
1. Gain access to the boiler terminal block by releasing
the two fixing screws (one each side) securing the
control panel and lowering the panel. Refer to
Technical Data, section 2.9 for connection details.
2. Note: This boiler has been fitted with a mains supply
cable. However, if it is necessary to fit an alternative
supply cable, ensure the cable clamp that has been
fitted is removed and connect as follows:-
Remove the two screws securing the terminal block
cover from the back of the control box (see Fig. 14).
Pass the mains supply cable through the cable clamp
and connect as follows:- Brown to L, Blue to N and
Green/Yellow to . Ensure correct polarity.
Note: Ensure that the length of the earth wire is
such that if the supply cable is pulled out of its
clamp the live and neutral wires become taut
before the earth wire.
The main terminal block can be removed by pulling
it off the pins to give easy access to the terminals.
Do not switch on the electrical supply at this stage.
3. If an external control, i.e. room thermostat or external clock is to be fitted, remove the terminal block cover and remove the
link between terminals 1 and 2. Pass the cable through the cable clamp and connect it to terminals 1 and 2. Replace the
terminal block cover. (Refer to section 2.9).
4. Replace the terminal block, ensuring it is located correctly on the plastic pins and replace the cover.
5. Ensure that there is sufficient free cable to allow the control panel to be raised and lowered then tighten the cable clamp screws.
6. Leave the control panel open until commissioning procedures have been completed.
7. Carry out electrical system checks - Short circuit, Polarity, Earth continuity and Resistance to earth with a suitable multimeter.
4.9 FIT THE CLOCK KIT - Fig. 15
Ensure the electrical supply to the boiler is isolated.
1. Remove the two screws securing the clock cover at the rear of the control panel.
2. Remove and discard the clock blanking panel.
3. Insert the clock into the opening and secure in place with the screws supplied.
4. Disconnect the clock wiring from the terminal block and connect it to the clock as follows:-
Blue wire to terminal 1, Brown wire to terminal 2 and Red wires to terminals 3 and 4, (or as per the instructions supplied with
the clock). Ensure wiring is correct.
5. Replace the clock cover. Do not overtighten the fixing screws.
6. Leave the control panel open until commissioning procedures have been completed.
Fig. 14

Other manuals for Alpha CB28

Related product manuals