EasyManua.ls Logo

Alpha CD32C - Boiler Schematic

Alpha CD32C
40 pages
Print Icon
To Next Page IconTo Next Page
To Next Page IconTo Next Page
To Previous Page IconTo Previous Page
To Previous Page IconTo Previous Page
Loading...
5
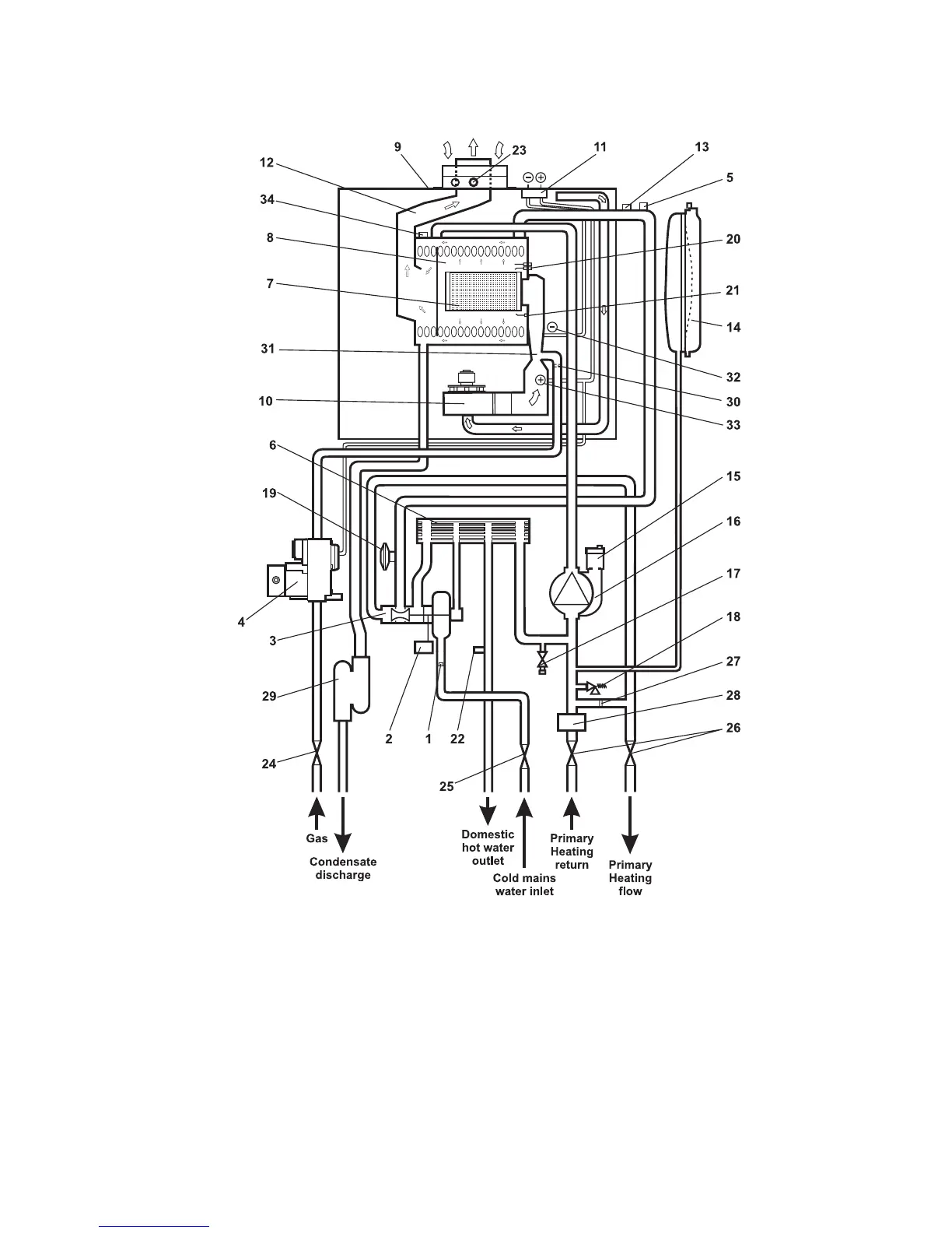
2.10 BOILER SCHEMATIC
1 - Flow regulator
2 - DHW flow switch
3 - Diverter valve and DHW flow valve
4 - Gas valve
5 - Primary temperature sensor
6 - DHW heat exchanger
7 - Main burner
8 - Primary/condensing heat exchanger
9 - Room sealed chamber
10 - Fan
11 - Pressure differential test points
12 - Flue hood
Fig. 2B
13 - Overheat thermostat
14 - Expansion vessel
15 - Automatic air vent
16 - Pump
17 - Drain point
18 - Pressure relief valve
19 - Primary pressure switch
20 - Ignition electrodes
21 - Flame sensing electrode
22 - DHW temperature sensor
23 - Flue sampling point
Alpha CD24C/32C - Technical Data
24 - Gas service cock
25 - Mains inlet on/off valve
26 - On/off valve (2 off)
27 - Automatic by-pass
28 - Cyclone separator
29 - Condensate trap
30 - Injector
31 - Venturi
32 - Venturi negative point
33 - Venturi positive point
34 - Flue thermostat

Other manuals for Alpha CD32C

Related product manuals