EasyManua.ls Logo

Alpha420 EDIOVEN - Page 4

Alpha420 EDIOVEN
20 pages
Print Icon
To Next Page IconTo Next Page
To Next Page IconTo Next Page
To Previous Page IconTo Previous Page
To Previous Page IconTo Previous Page
Loading...
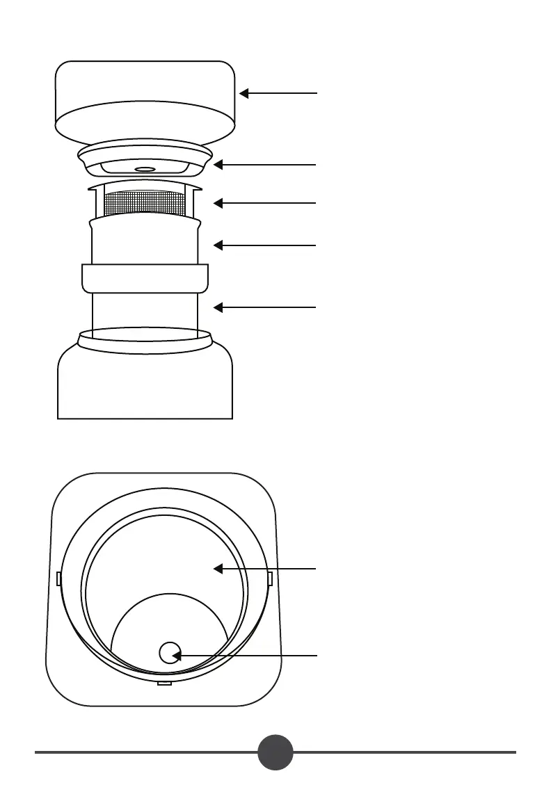
04
OUTER LID
Lock with a with
slight twist
SILICON LID
Place rmly on cup
STRAINER
Strain your infusions
SILICON CUP
For Decarbing waxes or
Infusing
METAL CUP
For Decarbing dry plant
material
Auto-Regulating
Thermostat
Heating Chamber - Always
use with the metal cup. Do
not put material directly into
the chamber.