EasyManua.ls Logo

Alpine ICS-X7HD - Connection of camera; Connection of HCE-C200 F + HCE-C200 R

Alpine ICS-X7HD
86 pages
Print Icon
To Next Page IconTo Next Page
To Next Page IconTo Next Page
To Previous Page IconTo Previous Page
To Previous Page IconTo Previous Page
Loading...
84-EN
01GB07ICS-X7HD.fm
ALPINE ICS-X7HD 68-21057Z34-A (EN/FR/ES)
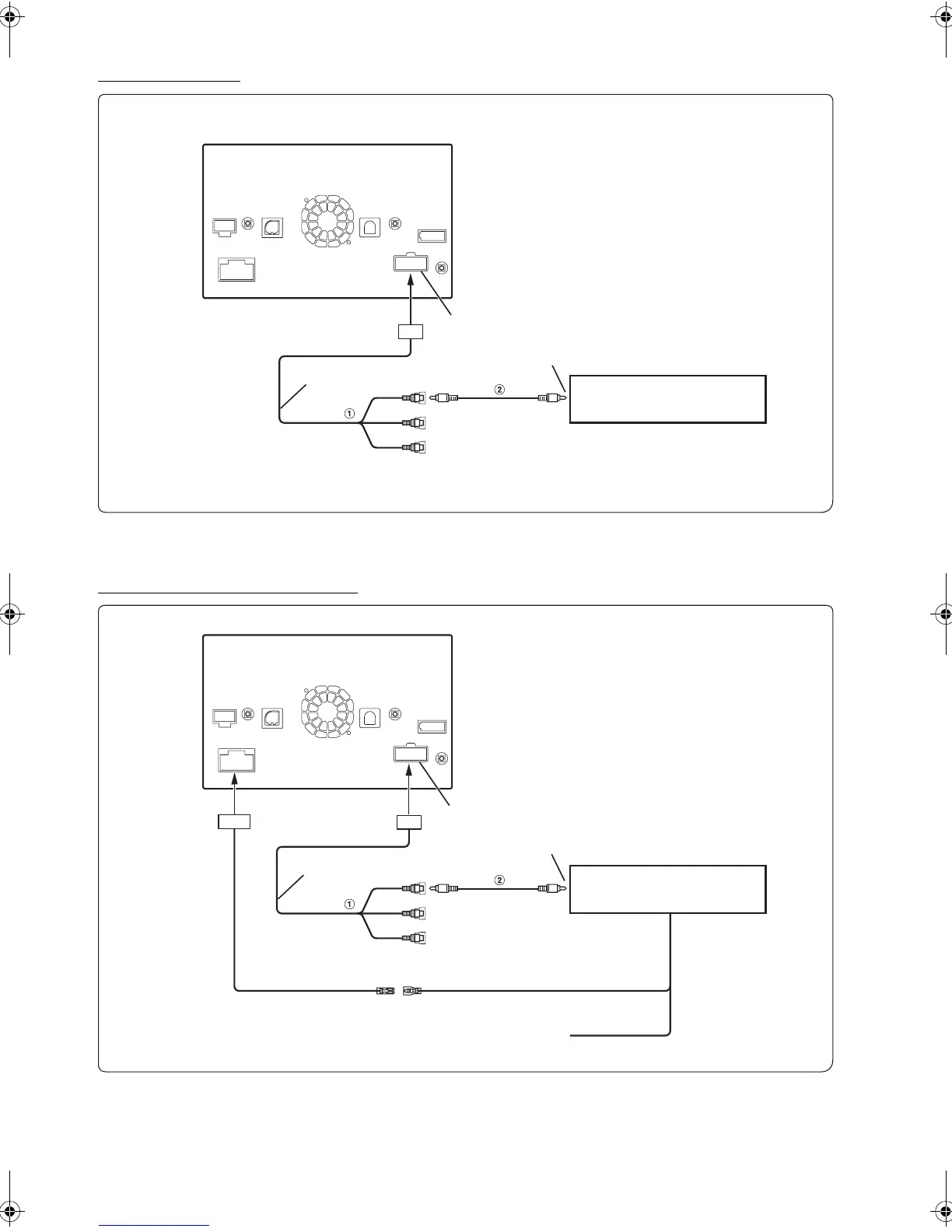
Connection of camera
1 CAMERA Input Connector (AUX INPUT)
2 RCA Extension Cable (sold separately)
Connection of HCE-C200F + HCE-C200R
1 CAMERA Input Connector (AUX INPUT)
2 RCA Extension Cable (HCE-C200R included)
To Video Output terminal
(Yellow)
Camera with RCA video output (sold
separately)
(Red)
(White)
HCE-C105, etc.
AUX/PRE OUT Connector
AUX/PRE OUT cable
To Video Output Terminal
(Yellow)
Control Unit
(Red)
(White)
To plus side of the back lamp
signal lead of the car.
Camera Control Lead
AUX/PRE OUT Connector
AUX/PRE OUT Cable
REVERSE
(Orange/White) (Orange/Black)
01GB00ICS-X7HD.book Page 84 Friday, October 12, 2012 5:20 AM

Table of Contents

Other manuals for Alpine ICS-X7HD

Related product manuals