EasyManua.ls Logo

Alpine INE-W720D - Page 49

Alpine INE-W720D
148 pages
Print Icon
To Next Page IconTo Next Page
To Next Page IconTo Next Page
To Previous Page IconTo Previous Page
To Previous Page IconTo Previous Page
Loading...
15-FR
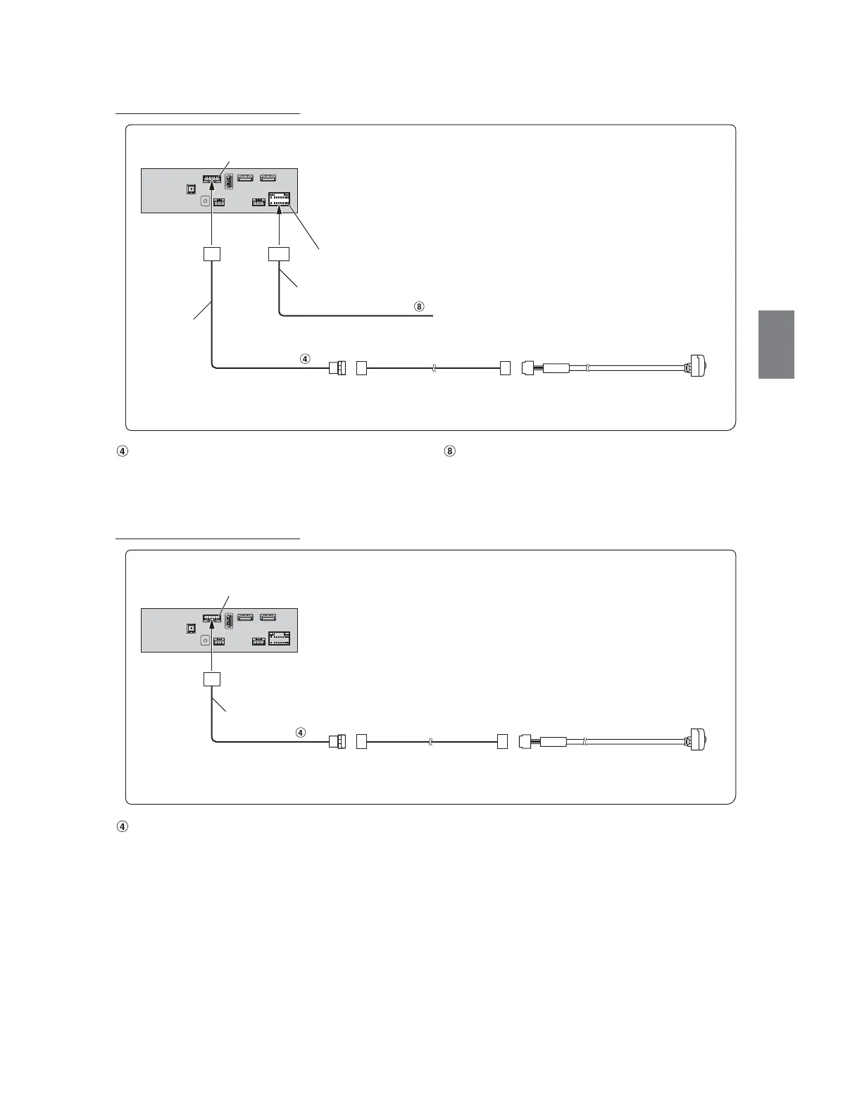
Raccordement d’une caméra de recul
Connecteur d’entrée directe de la CAMERA Fil de recul (Orange/Blanc)
Réglez Sélection Caméra sur « Arrière ». Pour plus dinformations, reportez-vous à la section « Réglage de lentrée de la caméra » du MODE D’EMPLOI
(CD-ROM).
Raccordement d’une caméra frontale
Connecteur dentrée directe de la CAMERA
Réglez Sélection Caméra sur « Avant ». Pour plus d’informations, reportez-vous à la section « Réglage de l’entrée de la caméra » du MODE DEMPLOI
(CD-ROM).
Connecteur CAN I/F
Reverse
Raccordez-le à la borne positive du feu de recul du véhicule.
Câble d’extension de la caméra
(fourni avec la caméra de recul directe)
Connecteur d’alimentation
CAMERA
(Orange/Blanc)
HCE-C127D/HCE-C157D/HCE-C252RD
(vendu séparément)
Câble d’alimentation
Câble CAN I/F
Connecteur CAN I/F
Câble d’extension de la caméra
(fourni avec la caméra de recul directe)
CAMERA
HCE-C257FD/HCE-C212FD
(vendu séparément)
Câble CAN I/F

Table of Contents

Related product manuals