EasyManua.ls Logo

Alpine MRX-M110 - Page 9

Alpine MRX-M110
20 pages
Print Icon
To Next Page IconTo Next Page
To Next Page IconTo Next Page
To Previous Page IconTo Previous Page
To Previous Page IconTo Previous Page
Loading...
añol
/FR/ES)
English Français Español
9
ALPINE MRX-M110/MRX-M55 68-23120Z17-A (EN/FR/ES)
es sin
ntrada
de salida
M55
potencia
u unidad
por
canal
cha.
ea RCA.
e trata
cador
ve
de por
Esto
ntre el
CAUTION
About Power supply wires
If the length of the power and ground cables exceed 1m, or if you
connect more than one amplifier, a distribution block should be
used. See below for wire gauge recommendations for distribution
block connection to battery and ground (depends upon wire length
necessary):
MRX-M110 .............. 2AWG(33mm
2
) or 1/0AWG(53mm
2
)
MRX-M55 ................ 4AWG(21mm
2
) or 2AWG(33mm
2
)
Ensure that you install a correctly-rated in-line fuse on the power
cable near the battery positive post.
ATTENTION
À propos des câbles d’alimentation
Si la longueur du câble d’alimentation et du câble de mise à la terre
est supérieure à 1 m ou si vous raccordez plusieurs amplificateurs,
vous devez utiliser un raccord de tuyauterie multiple. Voir ci-dessous
pour les recommandations concernant la jauge d’épaisseur à fils en
vue du raccordement du raccord de tuyauterie multiple à la batterie
ou à la terre (en fonction de la longueur nécessaire):
MRX-M110 .............. 2AWG (33mm
2
) ou 1/0AWG (53mm
2
)
MRX-M55 ................ 4AWG (21mm
2
) ou 2AWG (33mm
2
)
Veillez à installer un fusible en ligne de l’ampérage correct sur le
câble d’alimentation le plus près possible de la borne positive de
la batterie.
PRUDENCIA
Acerca de los cables de la fuente de energía
Si la longitud de los cables de tierra y de alimentación supera 1
m, o si conecta más de un amplificador, deberá utilizar un bloque
de distribución. Consulte más abajo para saber cuáles son las
longitudes de cable recomendadas para la conexión del bloque de
distribución entre la batería y tierra (depende de la longitud de
cable necesaria):
MRX-M110 .............. 2AWG(33mm
2
) o 1/0AWG(53mm
2
)
MRX-M55 ................ 4AWG(21mm
2
) o 2AWG(33mm
2
)
No olvide instalar un fusible en línea de las especificaciones
adecuadas en el cable de alimentación situado junto al terminal
positivo de la batería.
1m (Max.)/
1 mètre (Max.)/
1 m (máx.)
1m (Max.)/
1 mètre (Max.)/
1 m (máx.)
GND
BATTERY
4AWG/
21mm
2
2AWG or 1/0AWG / 33mm
2
or 53mm
2
/
2AWG ou 1/0AWG / 33mm
2
ou 53mm
2
/
2AWG o 1/0AWG / 33mm
2
o 53mm
2
To car battery/
Vers la batterie
du véhicule/
A la batería del
coche
Distribution block/
Répartiteur/
Bloque de distribución
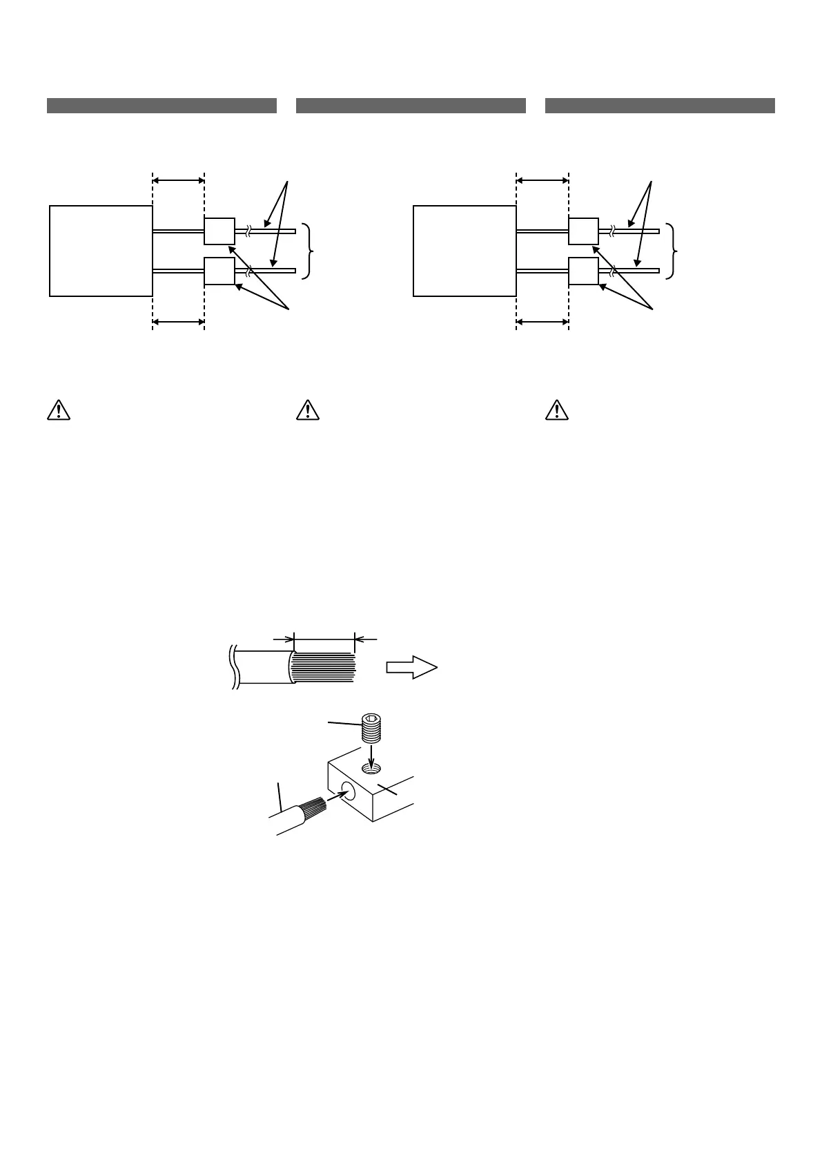
Fig. 4
4AWG/
21mm
2
Cautions on wire lead connections
When using third-party wire cables (power supply wire), use the
supplied screws to simplify the connection.
Refer to the description below for the proper procedure.
If you are in doubt about how to make this connection, consult
your dealer.
1. Check the wire size.
NOTES:
Required Wire Size (Battery Lead, Ground Lead):
MRX-M110 .......................... 4AWG/21mm
2
MRX-M55 ............................ 8AWG/8mm
2
If the wire gauge used is unknown, ask your dealer.
Précautions avec les connexions des fils conducteurs
Lorsque vous utilisez des câbles conducteurs d’autres fabricants
(câble d’alimentation), utilisez les vis fournies pour simplifier la
connexion.
Faire correctement les connexions en se référant à la description
suivante.
Si vous avez des doutes, contactez votre revendeur.
1. Vérifier le calibre des fils.
REMARQUES :
Taille du fil requise (fil de la batterie, fil de terre) :
MRX-M110 .......................... 4AWG/21mm
2
MRX-M55 ............................ 8AWG/8mm
2
Si le calibre des fils utilisés est inconnu, se renseigner auprès
du revendeur.
Precauciones durante la conexión de alambres
Si utiliza cables de otros fabricantes (cable de fuente de
alimentación), utilice los tornillos suministrados para simplificar la
conexión.
Asegúrese de efectuar correctamente las conexiones siguiendo el
procedimiento que se describe a continuación.
Si tiene dudas sobre la forma de hacer las conexiones, consulte a su
distribuidor.
1. Compruebe el tamaño de los alambres.
NOTAS:
Tamaño de cables requerido (cable de la batería, cable de
tierra):
MRX-M110 .......................... 4AWG/21mm
2
MRX-M55 ............................ 8AWG/8mm
2
Si no conoce el tamaño del alambre empleado, consulte a su
distribuidor.
Fig. 5
7 – 10 mm (9/32” – 3/8”)
Lead end side of the product/
Côté extrémité du conducteur du produit/
Extremo del conductor del producto
Fig. 6
Lead Terminal/Borne de conducteur/Terminal del conductor
Hexagon screw/
Vis à six pans/
Tornillo hexagonal
Lead/Conducteur/Alambre
MRX-M55
1m (Max.)/
1 mètre (Max.)/
1 m (máx.)
1m (Max.)/
1 mètre (Max.)/
1 m (máx.)
GND
BATTERY
8AWG/
8mm
2
4AWG or 2AWG / 21mm
2
or 33mm
2
/
4AWG ou 2AWG / 21mm
2
ou 33mm
2
/
4AWG o 2AWG / 21mm
2
o 33mm
2
To car battery/
Vers la batterie
du véhicule/
A la batería del
coche
Distribution block/
Répartiteur/
Bloque de distribución
8AWG/
8mm
2
MRX-M110

Related product manuals