EasyManua.ls Logo

Alpine R2 Series - Page 17

Alpine R2 Series
23 pages
Print Icon
To Next Page IconTo Next Page
To Next Page IconTo Next Page
To Previous Page IconTo Previous Page
To Previous Page IconTo Previous Page
Loading...
ALPINE R2-A75M/R2-A60F 68-44781Z33-B (EN/DE/FR/ES/IT/SE/RU/CS)ALPINE R2-A75M/R2-A60F 68-44781Z33-B (EN/DE/FR/ES/IT/SE/RU/CS)
16-EN
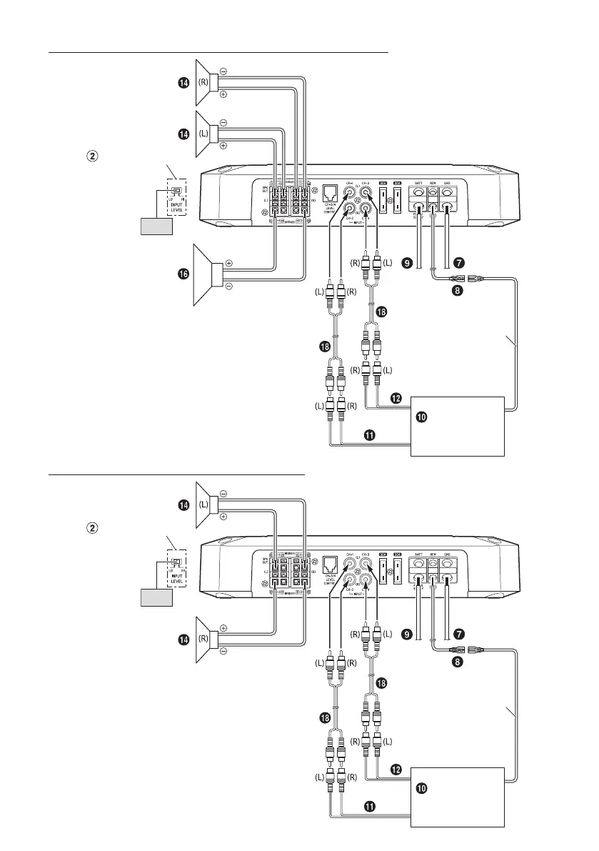
2 Speaker + Subwoofer System (Bridged Connections)
(Top inner panel)
[LO]
Head Unit, etc.
Remote Turn-On Lead
Input Level Switch
2 Speaker System (Bridged Connections)
(Top inner panel)
[LO]
Head Unit, etc.
Remote Turn-On Lead
Input Level Switch
Front 2-Way System
When using the Front 2-Way System, set each switch as follows.
Crossover Mode Selector Switch
(CHANNEL-1/2)
Input Channel Selector Switch
(CHANNEL-3/4)
Crossover Mode Selector Switch
(CHANNEL-3/4)
HP-H
3/4
BP
[LO]
Head Unit, etc.
Remote Turn-On Lead
Input Level Switch
(Top inner panel)

Related product manuals