EasyManua.ls Logo

Alpine X800D-U - Page 119

Alpine X800D-U
121 pages
Print Icon
To Next Page IconTo Next Page
To Next Page IconTo Next Page
To Previous Page IconTo Previous Page
To Previous Page IconTo Previous Page
Loading...
119-EN
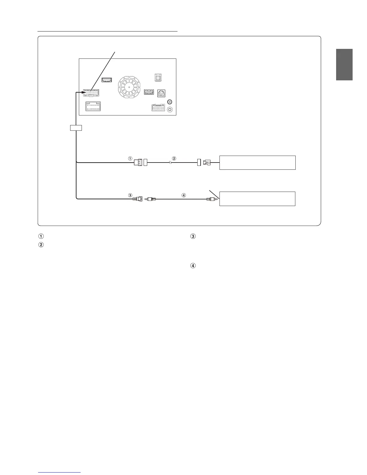
Connection of cameras (Direct camera and AUX camera)
Direct CAMERA Input Connector
Camera extension cable (Included with direct
rearview camera)
CAMERA Input RCA Connector
It’s better to connect the AUX Camera’s power cable to ACC.
Otherwise the (AUX) camera’s image will not be displayed by
touching (AUX) camera button on My Favorite screen.(Page 69)
RCA Extension Cable (sold separately)
CAMERA/W.REMOTE Connector
CAMERA 1
CAMERA 2
Direct rearview camera (sold
separately)
Camera with RCA video output (sold
separately)
To Video Output terminal
HCE-C117D, etc.

Table of Contents

Other manuals for Alpine X800D-U

Related product manuals