EasyManua.ls Logo

Amcor TC 120 - How the Dehumidifier Works

Amcor TC 120
36 pages
Print Icon
To Next Page IconTo Next Page
To Next Page IconTo Next Page
To Previous Page IconTo Previous Page
To Previous Page IconTo Previous Page
Loading...
5
This unit should not be used at temperatures below 4 °C.
ENGLISH
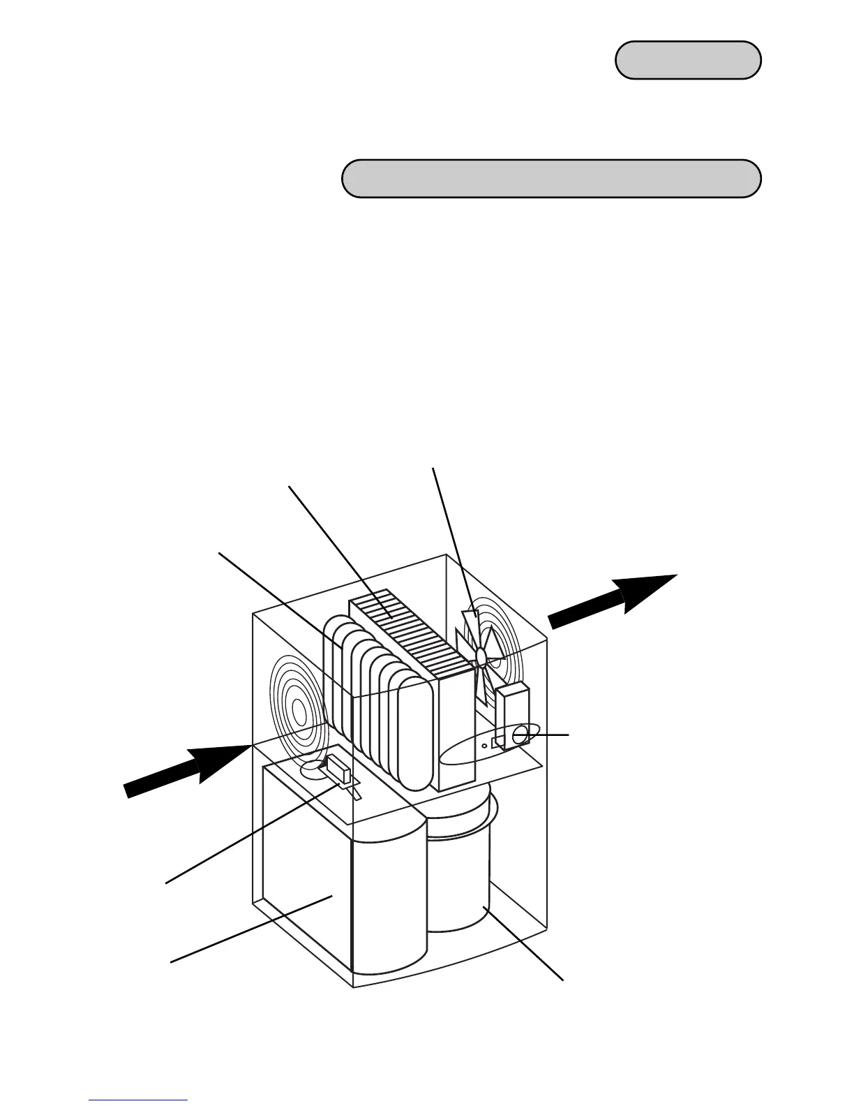
Your Amcor dehumidifier draws in air through the front panel onto a refrigerated
cold grill. As the air passes over a cold surface, moisture condenses and collects into
a front loading removable high capacity 5-litre water container. The drier, slightly
warmer air is then expelled back into the room through the front upper grill.
The Amcor dehumidifier fights condensation, mould and dampness throughout the
house. – And is also great for drying the laundry!
Save energy: did you know it takes less heat to warm dry air than damp humid air!
How it works
Watertank
Micro-switch
Most air
Dry slightly
warmed air
2 speed fan
Warmed coil
Cold
refrigerated coil
Compressor
TC 120, SC 120:
Humidistat
TC 2000, SC 2000:
Electronic humidistat

Related product manuals