EasyManua.ls Logo

Amitek AKD200R - Page 76

Amitek AKD200R
Print Icon
To Next Page IconTo Next Page
To Next Page IconTo Next Page
To Previous Page IconTo Previous Page
To Previous Page IconTo Previous Page
Loading...
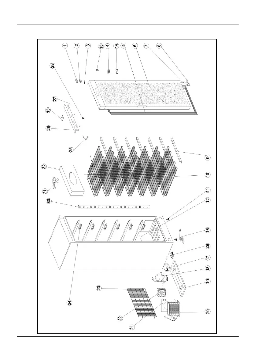
- 76 - ALLEGATI - ATTACHEMENTS - PIECES JOINTES - ANHÄNGE
AKD200FG - AKD400FG - AKD600FG

Table of Contents