EasyManua.ls Logo

Ansonic FA 970 - Inversión de las Puertas

Ansonic FA 970
55 pages
Print Icon
To Next Page IconTo Next Page
To Next Page IconTo Next Page
To Previous Page IconTo Previous Page
To Previous Page IconTo Previous Page
Loading...
ES
11
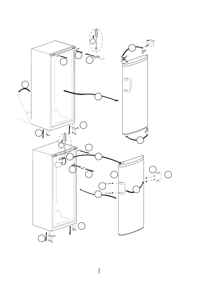
Inversión de las puertas
9
18
4
3
2
7
5
10
8
11
12
14
13
17
17
13
16
19
18
21
22
45 °
1
6
15
20

Table of Contents

Related product manuals